El circuito presentado tiene un consumo de corriente extremadamente bajo, evitando así que las pilas o baterías usadas en la alimentación se agote rápidamente.
El aparato puede permanecer encendido durante meses sin que esto ocurra.
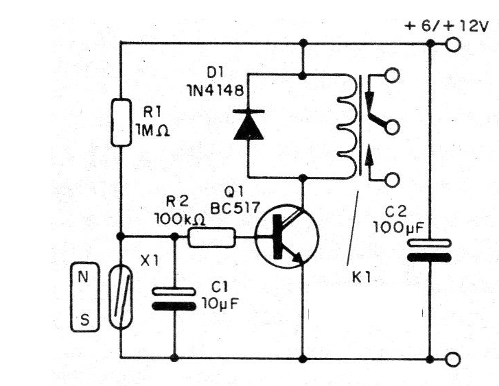
En la figura 1 tenemos el diagrama completo de esta alarma de bajo consumo.
Observe que el sensor es un reed-switch que debe permanecer cerrado con la proximidad de un imán.
En estas condiciones la corriente en el circuito es dada por R1 y por la tensión de alimentación.
Cuando el imán se aleja de X1 el capacitor C1 se carga hasta el punto en que Q1 conduce y acciona el relé.
Esto significa que, en función de C1 podemos tener retardos de accionamiento que van desde algunos segundos hasta algunos minutos.
Se pueden experimentar valores entre 100 nF y 100 uF.
En la figura 2 tenemos una sugerencia de placa de circuito impreso para este montaje.
El relé depende de la tensión de alimentación y puede ser sustituido por equivalentes con alteración correspondiente en la disposición de los terminales en la placa.
Si se utiliza más de un sensor; pueden ser conectados en serie. La cantidad es limitada y su conexión también se puede hacer con cables largos.
Lista de material
Q1 - BC517 - transistores Darlington
D1 - 1N4148 - diodo de uso general
X1 - Sensor - ver texto
R1 - 1 M ohms - resistor - marrón, negro, verde
R2 - 100k ohms - resistor - marrón, negro, amarillo
C1 - 10 uF - capacitor electrolítico
C2 - 100 uF - capacitor electrolítico
K1 - Relé de 6 o 12 V
Varios:
Placa de circuito impreso, hilos, soldadura, etc.





