Este circuito en combinación con receptores de comunicación se puede utilizar para ayudar en la recepción de señales débiles o para mejorar la calidad de sonido de los discos antiguos.
Para utilizarlo es sencillo: debemos conectar la fuente de señal a la entrada y un amplificador a la salida. Entonces ajustamos los potenciómetros P1 y P2 para obtener la mejor reproducción, con corte en los picos de ruido.
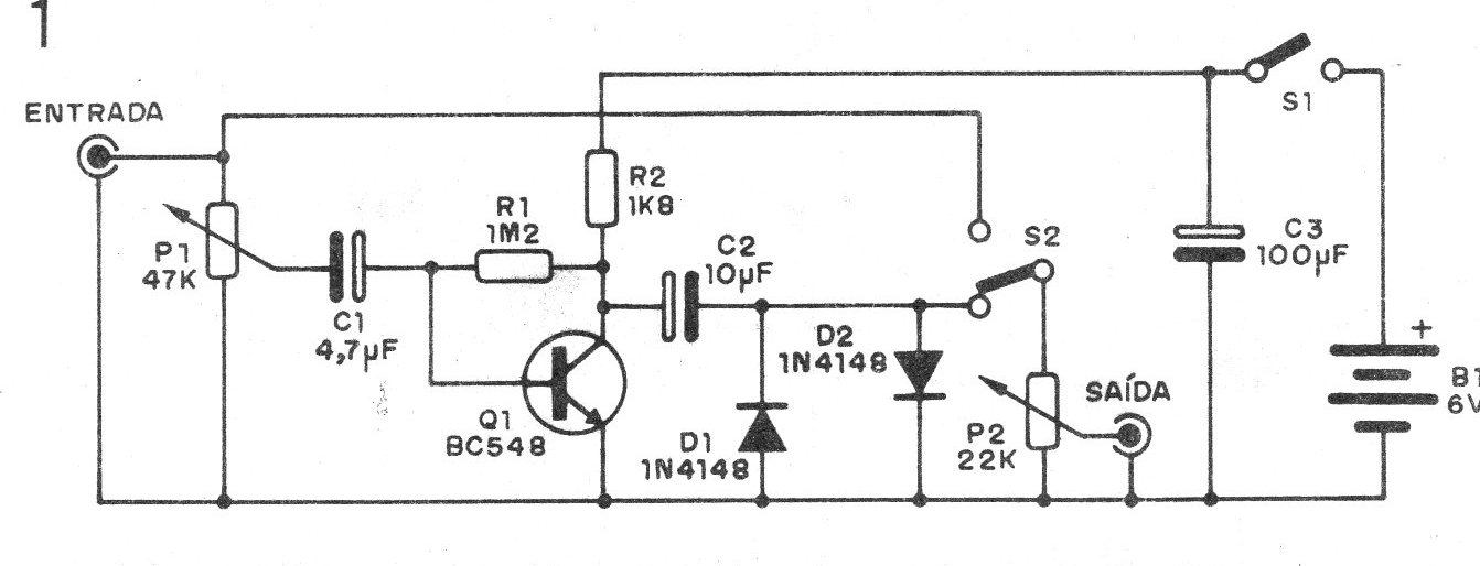
En la figura 1 tenemos el diagrama del aparato.
Como podemos observar, los diodos D1 y DZ hacen el "clip" de la señal, cortando los picos desagradables de ruido que ocurren en la recepción de radio, debido a la estática, y en el caso de discos antiguos debido a las grietas o arañazos.
La placa de circuito impreso se muestra en la figura 2.

La llave S2 sirve para desactivar el circuito, dejando que la señal pase directamente al amplificador de salida.
Los cables de entrada y salida deben ser blindados.
Los resistores son todos de 1/8 o ¼ W y los condensadores electrolíticos para 6 V o más..
La fuente de alimentación está formada por 4 pilas comunes y, como el consumo de corriente es bajo, no es necesario preocuparse por su durabilidad.
La resistencia R1 se puede cambiar para el cambio de ganancia del transistor. Los valores en el rango de 1M a 3M3 pueden ser experimentados.
Para receptores de ondas cortas portátiles, la señal se puede extraer del jack de auriculares, si existe.
LISTA DE MATERIAL
Q1 - BC548 o equivalente - transistores NPN de uso general
D1, D2 - 1N4148 - diodos de uso general
P1 - 47 k - potenciómetro simple lineal
P2 - 22 k - potenciómetro simple lineal
S1 - interruptor simple
S2 - llave de 1 polo x 2 posiciones
B1 - 6 V - 4 pilas pequeñas
C1 - 4,7 uF x 6 V - capacitor electrolítico
C2 - 10 uFx 6 V - capacitor electrolítico
C3 - 100 uF x 6 V - capacitor electrolítico
R1 - 1M2 - resistor (marrón, rojo, verde)
R2 - 1k8 - resistor (marrón, gris, rojo)
Varios: placa de circuito impreso, jack de entrada y salida, soporte de
pilas, soldadura, caja para montaje, hilos, etc.




