Esta alarma emite un sonido cuando el agua o la humedad en un vaso o recipiente desaparecen indicando así la necesidad de irrigación. Los electrodos son dos hilos en contacto con la tierra o el agua o aún pueden ser enterrados en el suelo en un jardín.

El circuito tiene un ajuste de sensibilidad y es muy sensible pudiendo detectar variaciones muy pequeñas del grado de humedad del suelo. La alimentación del circuito se realiza por 4 pilas pequeñas y en la condición de espera, es decir, en silencio el consumo es muy bajo.

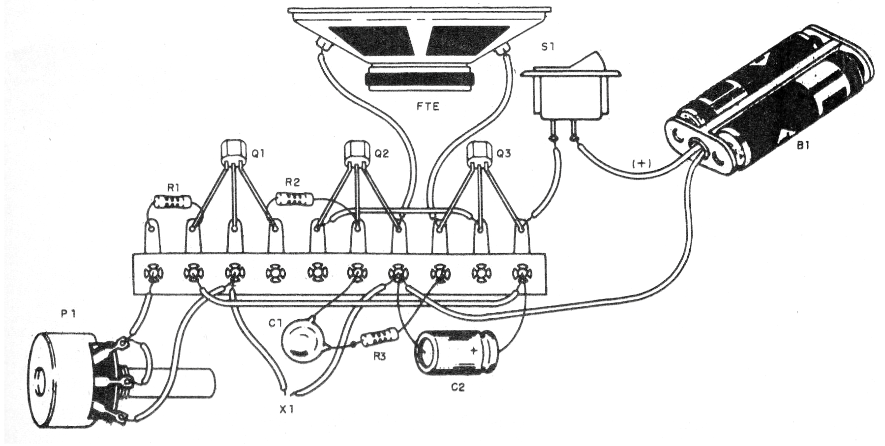
El volumen del sonido generado es razonable dependiendo de la tensión de alimentación. En la figura 1 tenemos el diagrama completo del aparato.

 

Figura 1- Diagrama completo de la alarma
Figura 1- Diagrama completo de la alarma | Clique na imagem para ampliar |

 

 

 

Figura 2 - Montaje en puente de terminales
Figura 2 - Montaje en puente de terminales | Clique na imagem para ampliar |

 

 

El sensor está formado por dos pedazos de hilo rígido con las puntas peladas de al menos 10 cm para tener contacto directo con la tierra. El altavoz puede ser de cualquier tipo y los demás componentes son comunes. Para suelos muy secos aumente el tamaño del electrodo.

 

 

Lista de material

 

Q1 y Q2 - BC548 o equivalente - transistores NPN de uso general

Q3 - BC558 o equivalente - transistores PNP de uso general

R1- 100 k ohms x 1/8 W-resistor - marrón, negro, amarillo

R2 - 10 k ohms x 1/8 W - resistor - marrón, negro, naranja

R3 - 1 k ohms x 1/8 W-resistor - marrón, negro, rojo

P1- 2,2 M o 4,7 M - trimpot o potenciómetro

C1 - 100 nF - capacitor de cerámica o poliéster

C2- 100 uF x 6 V o más - capacitor electrolítico

FTE - 4 ó 8 ohms - altavoz

X1- Sensor - ver texto

S1 - Interruptor simple

B1- 3 o 6 V - 2 o 4 pilas pequeñas

Varios: puente de terminales, soporte de pilas, caja para montaje, hilos, soldadura, etc.