Muchos proyectos que hacen uso de transistores y circuitos integrados son alimentados por una tensión de 6 V, normalmente suministrada por pilas pequeñas, medianas o grandes. Sin embargo, las pilas son caras y se agotan rápidamente en muchos casos.
Si existe la posibilidad de alimentar estos circuitos en la bancada por una fuente fija, la economía es patente. El circuito que damos a continuación hace justamente eso, sustituyendo 4 pilas pequeñas, medianas o grandes, o sea, suministrando una corriente de hasta 1 amperio.
Simple de montar, consiste en una solución económica ideal para quienes hacen muchas experiencias y montajes electrónicos. Con él, el uso de las pilas puede limitarse a las aplicaciones portátiles.
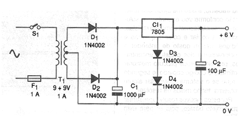
En la figura 1 tenemos el diagrama completo de la fuente de alimentación.

La disposición de los componentes en un puente de terminales se muestra en la figura 2.

Observe que usamos el circuito integrado 7805 de 5 V. Si el lector encuentra el 7806 y desea usar, basta con eliminar los dos diodos del terminal de ajuste, conectándolo directamente a la tierra.
Para aumentar en poco más de 1 V la salida del 7805 usamos justamente dos diodos, D3 y D4.
El transformador tiene bobinado primario de acuerdo con la red local y secundaria de 7,5 + 7,5 V o incluso 9 + 9 V, y corriente de 1 A. Si el lector tiene un transformador de menor corriente, por ejemplo 500 mA, puede utilizar, pero su fuente proporcionará una corriente máxima de 500 mA.
Los diodos admiten equivalentes y el condensador C1 debe tener una tensión de trabajo de al menos 16 V. El circuito integrado debe montarse en un radiador de calor.
En la salida de la fuente usamos bornes donde serán atrapados los hilos de entrada del aparato alimentado. También se pueden utilizar hilos con garras de colores diferentes para identificar lo positivo y lo negativo.
Para experimentar es sólo conectar un multímetro en la salida y comprobar la tensión, o una lámpara de 6 V.
Lista de material
CI-1 - 7805 - circuito integrado, regulador de tensión
D1 a D4 - 1N4002 - diodos de silicio
C1 - 1 000 uF x 16 V - capacitor electrolítico
C2 - 100 uF x 12 V - capacitor electrolítico
S1 - Interruptor simple
F1 - 500 mA - fusible
Varios:
Puente de terminales, cable de fuerza, soporte para el fusible, bornes, garras jacaré, caja para montaje, hilos, soldadura, etc.



