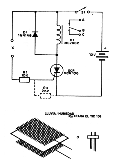
Con este circuito tenemos Ia activación de un sistema de aviso cuando un sensor es mojado o incluso humedecido. Para que dispare con la lluvia o derramamientos de el sensor consiste en dos telas de metal separadas por un trozo de tejido o papel poroso con un poco de sal.
Después de la activación de la alarma por humedad o agua, el sensor debe ser cambiado por uno seco, antes de rearmarlo.
Para el disparo por nivel de líquido el sensor consiste en dos trozos de alambre con las puntas peladas y separados por una distancia de algunos centímetros.
Este circuito debe ser desconectado y conectado nuevamente para el rearme y es descripto en la figura 1.

En la figura 2 damos la placa del circuito impreso.

SCR - MCR106, TIC106 o C106 - SCR común
K1 - relé de 12V
D1 - 1N4148 ó 1N914 - diodo de uso general
X - sensor - ver texto
S1 - interruptor simple
R1 - 10k x 1/8W - resistor (marrón, negro, naranja)
B1 - 12V u 8 pilas medianas
Varios: placa de circuito impreso, alambres, material para el sensor, soporte para pilas (2 de 4 pilas), etc.



