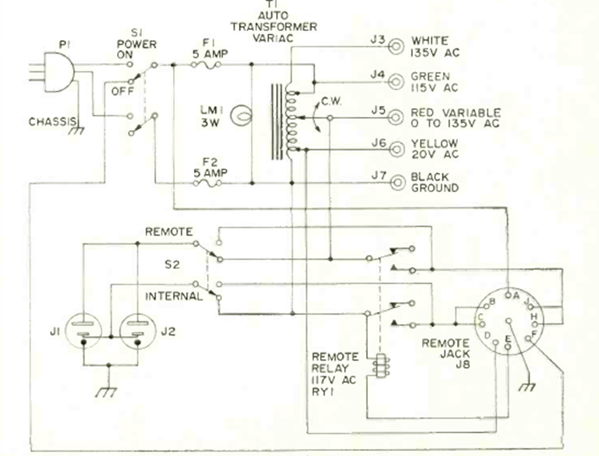
Esto representa un circuito autotransformador muy útil en el banco. Lo encontramos en la revista Radio Electrónica de septiembre de 1970. El transformador debe ser acorde con lo que se quiere suministrar en la salida.
Este circuito convierte las señales de la banda de 350 a 500 kHz a la banda de 4.36 a 4.5 MHz, lo que...
Este circuito de automatización fue encontrado en la revista Radio Electronics de octubre de 1961....
Este circuito de puente H puede usar transistores de media potencia de hasta 500 mA como BD135 y...