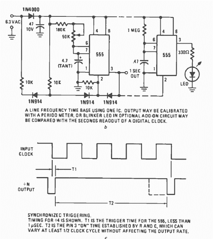
Este circuito sincronizado por la red eléctrica simplemente produce 1 pulso por segundo. El circuito es de una revista Radio Electronics de mayo de 1977.
Un tipo de fuente de alimentación bastante simple y útil es la que no hace uso del transformador....
En esta serie de Mini-Proyectos damos montajes simples que pueden ser realizados por principiantes...
Esta alarma crea una “barrera luminosa” que ai ser interrumpida provoca el disparo de una sirena,...