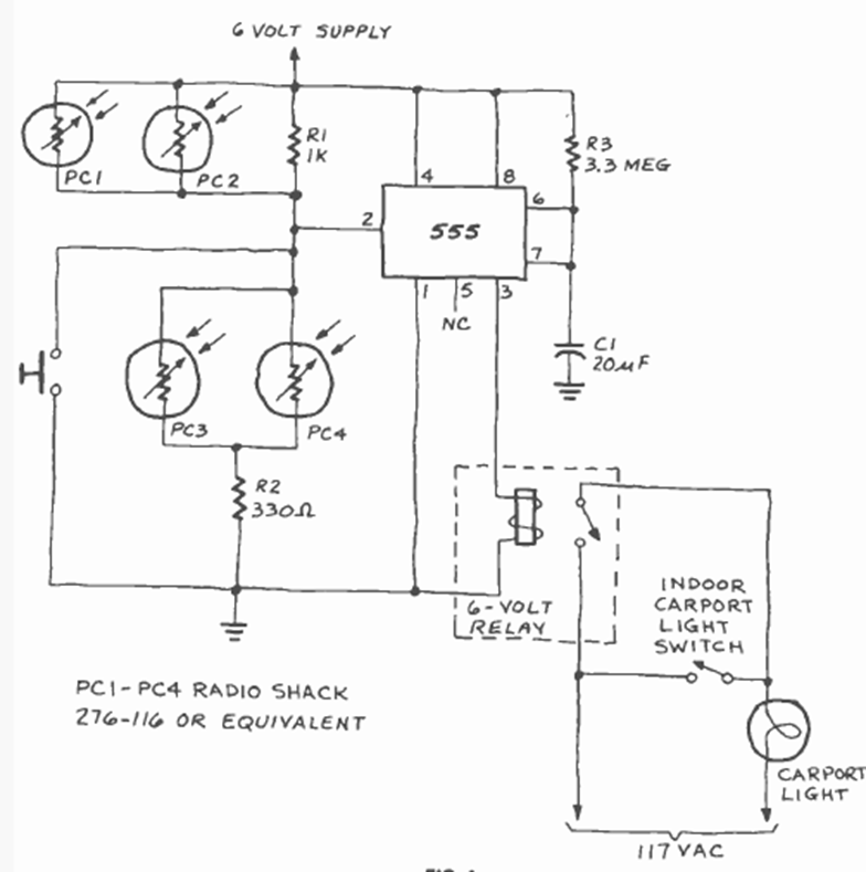
Recomendado para aplicaciones automotrices, este circuito se encontró en la revista Radio Electronics de noviembre de 1980. Los sensores son LDR comunes y la aplicación recomendada es la iluminación de luces de garaje.
Un tipo de fuente de alimentación bastante simple y útil es la que no hace uso del transformador....
En esta serie de Mini-Proyectos damos montajes simples que pueden ser realizados por principiantes...
Esta alarma crea una “barrera luminosa” que ai ser interrumpida provoca el disparo de una sirena,...