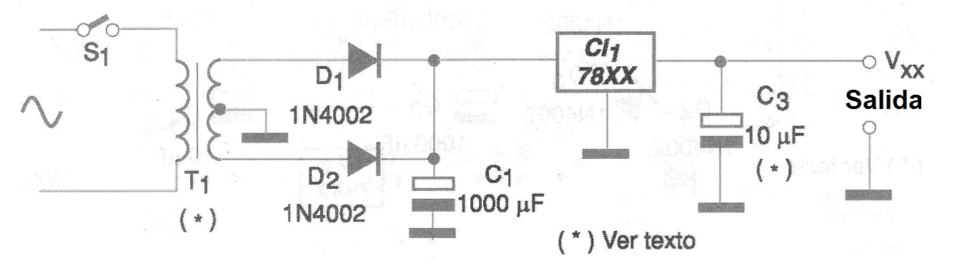
Los reguladores de tensión de 5 a 15 V para las corrientes de 1 A, se pueden obtener fácilmente en forma de circuitos integrados. Es el caso de la serie 78xx.

   Esta fuente puede suministrar de 5 a 15 V de tensión de salida según el CI utilizado. El "xx" indica la tensión de salida.

   Por ejemplo, el circuito integrado 7806 proporciona una tensión de 6 V.

   En la figura 1 tenemos entonces la configuración básica para esta fuente.

 


| Clique na imagem para ampliar |

 

   

Observamos algunos hechos importantes en relación a ese circuito, y que pueden ser de gran utilidad para el desarrollador.

   Hay versiones con sufijos "L" que se presentan en envoltorios SOT-54 para corrientes de hasta 200 mA. Se pueden utilizar en los casos en que deseamos menor corriente de salida.

   Los capacitores de desacoplamiento de salida deberán tener valores menores en algunos casos, dependiendo del sufijo del CI y del fabricante.

   Podemos aumentar la tensión de salida de un CI de la serie 78xx de dos formas. Una de ellas consiste en agregar diodos comunes o diodos zener en el terminal de referencia, como muestra la figura 2.

 


 

 

    

En este circuito, los diodos comunes, polarizados en el sentido directo suman 0,6 V al diodo interno de referencia, aumentando así la tensión de salida.

   Otra forma de aumentar la tensión de salida es usando un divisor resistivo, como muestra la figura 3.

 


 

 

 

   En la figura 4 mostramos una placa de circuito impreso para la implementación de esta fuente.

 


| Clique na imagem para ampliar |

 

 

   El circuito integrado regulador de tensión debe estar dotado de un radiador de calor.

   El transformador debe tener una tensión de secundario por lo menos 2 V mayor que la que deseamos en la salida, dada por el regulador integrado usado.

   La corriente debe ir hasta 1 A conforme a la que se desea en la salida.

   La tensión de trabajo de C1 debe ser al menos un 60% mayor que la tensión rms del secundario del transformador.

 

 

Lista de material

 

CI-1 - 78xx - circuito integrado regulador de tensión - ver texto

D1, D2 - 1N4002 o equivalente - diodos rectificadores

C1 - 1 000 uF - capacitor electrolítico

C2 - 10 uF - capacitor electrolítico

S1 - Interruptor simple

T1 - Transformador - ver texto