El control que describimos puede ser usado con motores de 3 a 12 V y corrientes máximas de 1 A. El control es del tipo lineal que funciona como un simple reóstato.
En la figura 1 tenemos el diagrama completo del control.
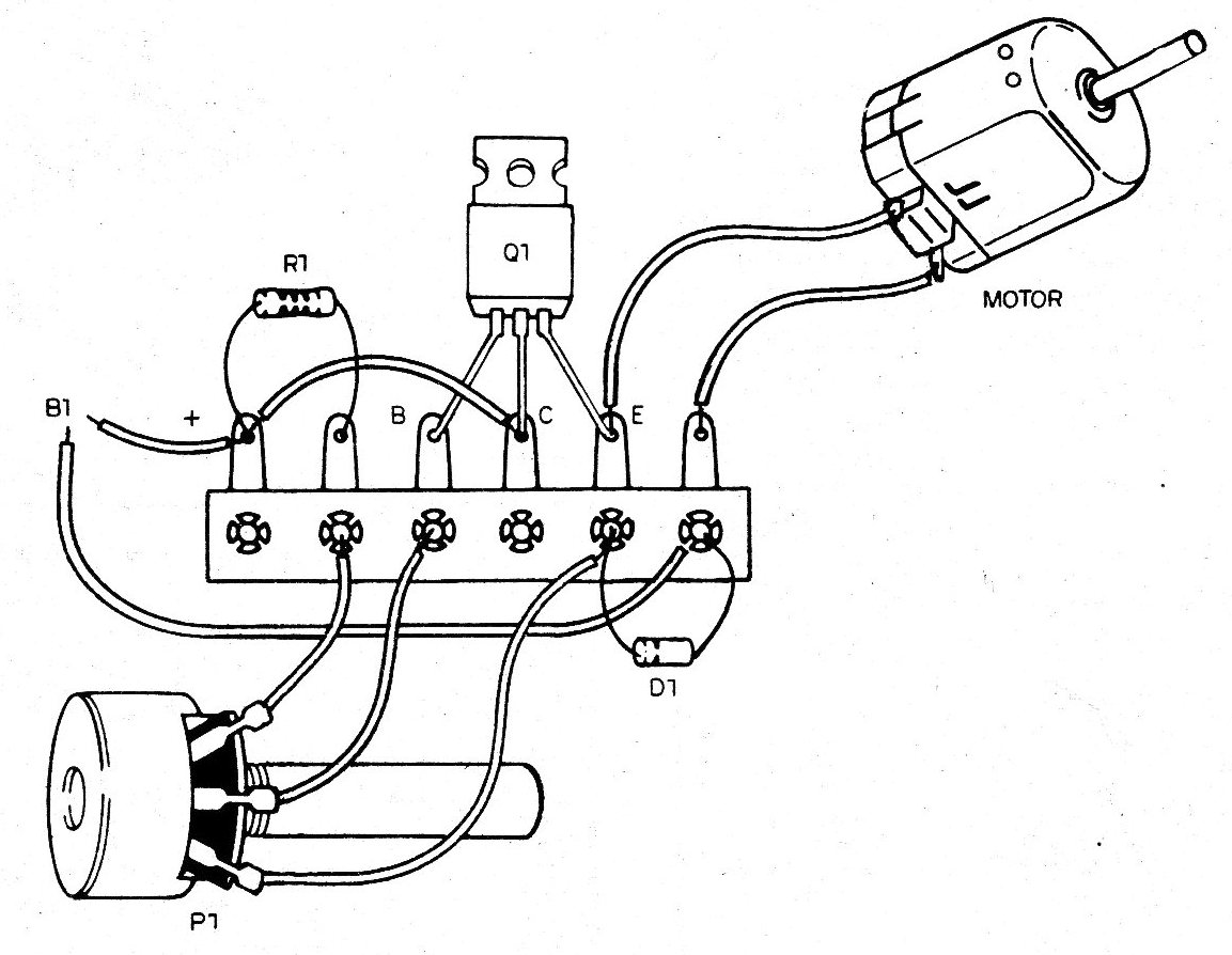
En la figura 2 tenemos el montaje en puente de terminales.
El transistor TIP31 debe montarse en un radiador de calor y su posición debe ser observada.
El diodo D1 puede ser el 1N4002 o cualquier equivalente de la misma serie, incluso los 1N4148.
Si nota calentamiento del potenciómetro en los motores, aumente R1 a 2700 ohmios
En la conexión de la fuente de alimentación (pilas B1) es importante observar la polaridad, así como en el caso del motor, pues si la polaridad es invertida, girará al revés.
Este mismo circuito también se puede utilizar para controlar el brillo de las pequeñas lámparas (Dimmer).
LISTA DE MATERIAL
Q1 - TIP31 - transistores NPN de potencia
D1 - 1N4002 - diodo de silicio
P1 - 470 ohms - pote
R1 - 100 ohms x 1/8 W - resistor - marrón, negro, marrón
Varios: puente de terminales, hilos, motor, soldadura, etc.





