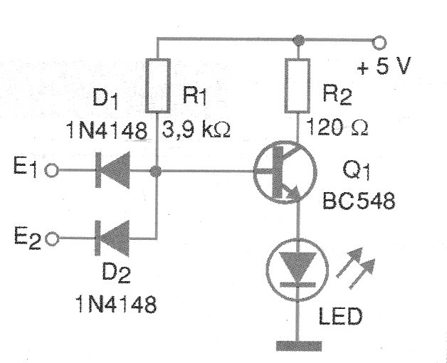
El circuito presentado en la figura 1 es una puerta lógica NOR (no-OU) en el que un LED se enciende cuando una u otra entrada está en el nivel bajo. La principal característica de este circuito es su compatibilidad con lógica TTL lo que permite conectarlo como shield a la salida de microprocesadores, microcontroladores y otros equipos que usen esta lógica.
Se trata de una solución interesante para hacer un sistema indicador TTL sin la necesidad de circuitos integrados especiales. El LED puede ser de cualquier color, pero dada la tensión más baja de accionamiento, los rojos son los más indicados para esta solución.

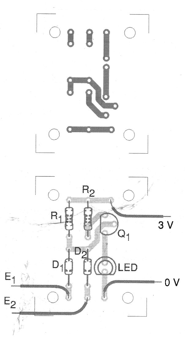
La placa de circuito impreso para el montaje de este indicador se muestra en la figura 2.

Lista de material
Q1 - BC548 - transistores NPN de uso general
D1, D2 - 1N4148 - diodos de uso general
LED - LED rojo común
R1 - 3,9 k ohms x 1/8 W - resistor
R2 - 120 ohms x 1/8 W - resistor
Varios:
Placa de circuito impreso, hilos, soldadura, etc.



