Se presenta una prueba simple de transistores NPN y PNP que, además de decir si el componente está bien, indica con buena precisión su ganancia. De gran utilidad para todos los que realizan montajes electrónicos, esta prueba es totalmente portátil y funciona con pilas.
Sólo tiene que conectar el transistor a ser probado a los terminales correspondientes y luego girar el potenciómetro P1 hasta que uno de los indicadores LED se encienda. El punto en que esto ocurre determina la ganancia del transistor. Si el LED se enciende en el extremo del cursor de P1 o no se enciende, es señal de que el transistor se encuentra con problemas.
La alimentación del circuito se realiza con una tensión de 6 V y los transistores de todos los tipos pueden ser probados, con ganancias en la banda que va de 0 a 1000.
Si usted todavía no tiene un instrumento para la prueba de sus transistores, no debe dejar de montar este.
COMO FUNCIONA
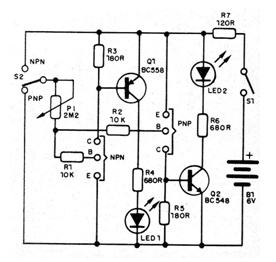
En el caso de los transistores NPN, que está constituido por el transistor Q1 y sus componentes de polarización, tenemos el siguiente funcionamiento: en ausencia de un transistor en prueba, la resistencia R3, entre el emisor y la base de Q1, polariza este último en su región de corte, impidiendo la conducción, de modo que no tenemos corriente de colector. El LED permanece apagado. Con la conexión de un transistor NPN su corriente de colector debe polarizar el transistor QI hasta el punto en que inicia la conducción y, consecuentemente, enciende el LED1.
Esto ocurre en función de la corriente de base del transistor en prueba, la cual es determinada por P1.
Así, girando P1 desde el punto de mayor resistencia, llegamos a un punto en que la polarización de su base es suficiente para tener una corriente de colector que lleva Q1 a la conducción, encendiendo el LED.
Variando la corriente de base del transistor en prueba, a través de P1, estaremos variando la corriente de colector. Como la relación entre la corriente de colector y la corriente de base es, la propia ganancia del transistor, la variación de P1 será proporcional a la ganancia del componente en prueba.
Los valores de ganancia superior a 1000 se pueden alcanzar con un potenciómetro de 2M2 o incluso 4M7. .
El sector de prueba de transistores PNP funciona de la misma manera, con la diferencia que tenemos sentidos opuestos de circulación de las corrientes.
MONTAJE
En la figura 1 tenemos el circuito completo del probador.

El montaje realizado en un puente de terminales se muestra en la figura 2.
Los resistores son todos de 1/8 o ¼ W y el potenciómetro P1 puede ser lineal de 2M2, en cuyo caso la escala sugerida en la figura 3 se adapta bien. Los LEDs son comunes, pudiendo ser de colores diferentes.
Para la alimentación se utilizan 4 pilas pequeñas.
PRUEBA Y USO
Para probar, conecte un transistor en las garras de aprobación, según su polaridad (NPN o PNP) y luego gire lentamente P1 hasta que el LED correspondiente se encienda. En este punto tenemos la indicación de ganancia del transistor. Si el LED se enciende en todo el curso de P1 es señal de que el transistor se encuentra en corto, y si no se enciende es señal de que el transistor está abierto.
LISTA DE MATERIAL
Q1 - BC548 o equivalente -transistor NPN de uso general
Q2 - BC558 o equivalente -transistor PNP de uso general
LED1 - LED rojo común
LED2 - LED rojo o verde común
B1 - 6 V - 4 pilas pequeñas
S1 - interruptor simple
S2 - llave de 1 polo x 2 posiciones (o H)
P1 - 2M2 - potenciómetro lineal
Ri, R2 - 10 k - resistores (marrón, negro, naranja)
R3, R5 -180 ohms - resistores (marrón, gris, marrón)
R4, R6 - 680 ohms - resistores (azul, gris, marrón)
R7 - 120 ohms - resistor (marrón, rojo, marrón)
Diversos: soporte para 4 pilas pequeñas, caja para montaje, puente de terminales, knob para el potenciómetro, escala para el potenciómetro, garras cocodrilo de diferentes colores (6) para conexión del transistor en prueba, hilos, soldadura, etc.





