Cuando apretamos y soltamos S1, el circuito produce un sonido similar a una prolongada risa cuyo realismo dependerá de la elección de los componentes R2, R3 y R4 que debe realizarse experimentalmente, en torno a los valores indicados.
Montado en una cajita puede ser utilizado en juguetes y otras aplicaciones. Montamos este circuito en una cajita con un mando a distancia y lo colocamos bajo un árbol de navidad. Cuando los niños se acercaban al control era accionado y una buena carcajada las dejaba intrigadas, imaginando un papá-Noel escondido.
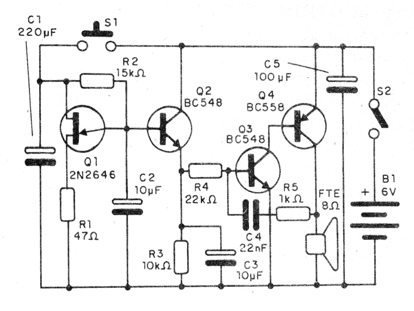
El circuito es sencillo de montar que puede funcionar con 4 pilas o una batería. En la figura 1 tenemos el diagrama completo de la risa electrónica.
Un montaje didáctico más simple se puede hacer con base en puente de terminales, como se muestra en la figura 2. Sin embargo, para una versión mejor y más compacta se puede utilizar una placa de circuito impreso. El montaje en la matriz de contactos también es interesante.
En el montaje, observe la posición de los transistores, principalmente del transistor unijuntura que no admite equivalentes. La polaridad de la batería también es importante.
Lista de material
Q1 - 2N2646 - transistor unijuntura
Q2, Q3 - BC548 - transistores NPN de uso general
Q4 - BC558 - transistores PNP de uso general
R1 - 47 k ohms x 1/8 W - resistor - amarillo, violeta, naranja
R2 - 15 k ohms x 1/8 W - resistor - marrón, verde, naranja
R3 - 10 k ohms x 1/8 W - resistor - marrón, negro, naranja
R4 - 22 k ohms x 1/8 W - resistor - rojo, rojo, naranja
R5 - 1 k ohms x 1/8 W - resistor - marrón, negro, rojo
C1 - 220 uF x 12 V o más - capacitor electrolítico
C2, C3 - 10 uF x 12 V o más - capacitores electrolíticos
C4 - 22 nF - condensador de poliéster o cerámico
C5 - 100 uF x 12 V o más - capacitor electrolítico
S1 - Interruptor de presión NA
S2 - Interruptor simple
B1 - 6 V - 4 pilas comunes
FTE - Altavoz de 8 ohms x 5 cm o mayor
Varios: puente de terminales, soporte de pilas, caja para montaje, hilos, soldadura, etc.





