Esta fuente puede usarse como eliminador de pilas para alimentar pequeños aparatos transistorizados como radares, calculadora, relojes, etc. En la fuente sin transformador se aprovecha la reactancia capacitiva de C1 para reducir la tensión a un valor conveniente, regulado por el zener DZ. Este zener puede ser de 6, 9 o 12 V, según la tensión de deseada y con una disipación de 1 W.
Como se muestra en el diagrama de la figura 1, la rectificación es hecha por D1 y el filtrado por C2, que debe ser lo más grande posible. Para aplicaciones normales, 1000 uF será suficiente y la tensión de trabajo de al menos 12 V.
El capacitor C1 no debe ser electrolítico, sino despolarizado como, por ejemplo, de poliéster, con una tensión de trabajo de al menos 400 V.
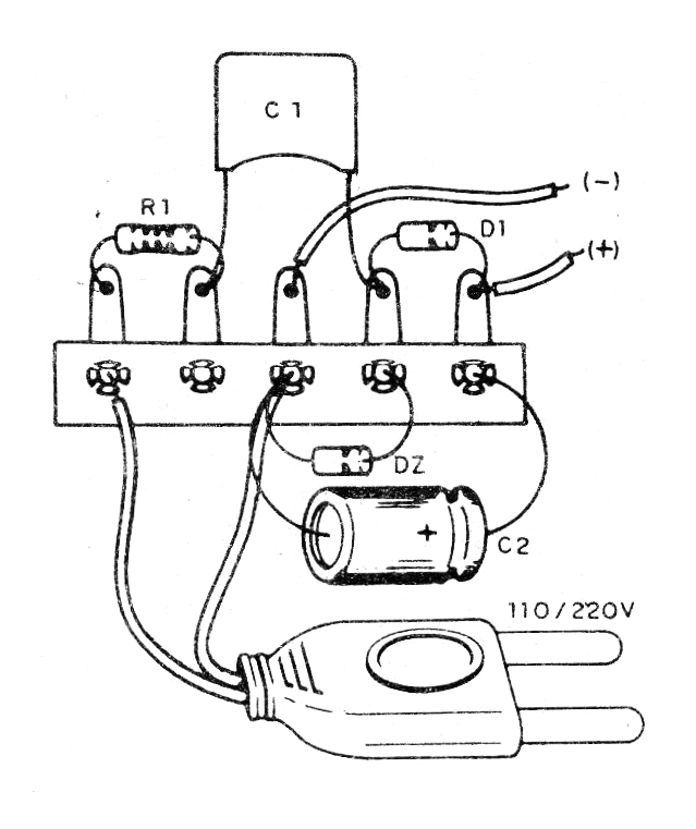
El montaje en puente de terminales se muestra en la figura 2.

Es importante recordar que la no existencia de transformador hace que la fuente tenga conexión directa con la red de energía no habiendo, por lo tanto, aislamiento. Así, existe peligro de choques en un contacto con el circuito alimentado. La corriente máxima de la fuente es del orden de 50 mA.
Lista de material
DZ-Diodo zener de 6, 9 o 12 V x 1 W
D1- 1N4002 o equivalente de diodo de silicio
C1- 330 nF o 470 nF x 400 V o más capacitor de poliéster
C2- 1 000 uF x 12 V- capacitor electrolítico
R1- 100 ohms x ½ W - resistor - marrón, negro, marrón
Varios: puente de terminales, cable de alimentación, hilos, soldadura, etc.




