Un oscilador de relajación con lámpara de neón es la base de este circuito que se puede utilizar como instrumento de banco. Alimentado por la red de 110 V o 220 V tiene un consumo extremadamente bajo. Con él podemos generar señales de audio para pruebas de equipos diversos. La señal es de pequeña amplitud que puede ser usada con equipos transistorizados. El circuito genera señales en el rango de 500 a 10 000 Hz.
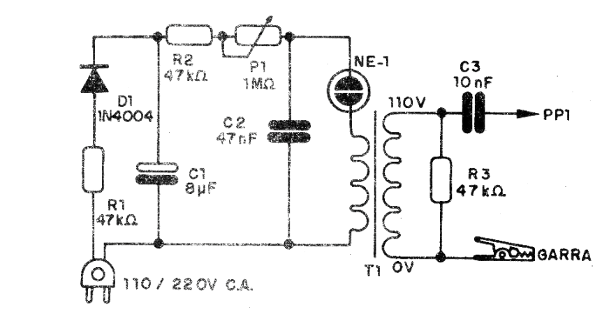
El circuito se muestra en la figura 1, sirviendo tanto para la red de 110 V como de 220 V.
Atención: este circuito no está aislado de la red de energía a no ser su salida (después del transformador)
Lista de material
D1- 1N4004 (110 V) o 1N4007 (220 V) - diodo de silicio
NE-1 - Lámpara neón común - NE-2H o equivalente
P1 - 1 M ohms - pote
T1 - Transformador con un rango de 110 V y secundario de 5 a 12 V con 50 a 250 mA
C1- 8 uF x 300 V - capacitor electrolítico
C2 - 47 nF-capacitor de poliéster o cerámico
C3 - 10 nF - capacitor de poliéster o cerámico
R1 - 47 k ohms x 1 W-resistor - amarillo, violeta, naranja
R2 - 47 k ohms x 1/8 W - resistor - amarillo, violeta, naranja
R3 - 47 k a 100k x 1/8 - resistor
PP1 - Punta de prueba
G1 - Barra jacaré
Varios: cable de fuerza, puente de terminales, caja para montaje, hilos, soldadura, etc.





