Las pilas recargables o las baterías de Nicad consisten en una de las fuentes de energía más usadas para proyectos de mecatrónica y robótica.
En realidad, podemos encontrar estas pilas y baterías alimentando una infinidad de otras aplicaciones como teléfonos inalámbricos, juguetes, automatismos, transmisores de control remoto, etc.
Sin embargo, estas pilas y baterías deben recargarse.
El cargador muy simple que describimos sirve para pilas pequeñas, medianas y grandes proporcionando una corriente de carga del orden de 20 a 50 mA en la red de 110 V.
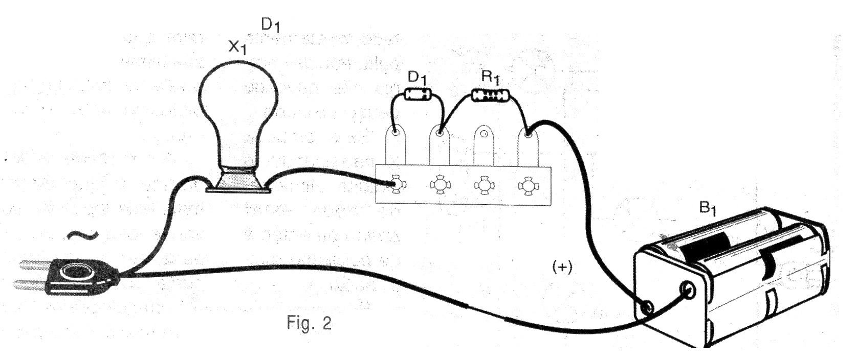
El circuito es de los más económicos por no utilizar transformador ya que la reducción de la tensión es hecha por una lámpara de 5 a 15 vatios para la red de 110 V, que también actúa como limitadora de corriente.
La rectificación se realiza por un diodo 1N4004 y la reducción final por una resistencia (R1) que puede tener su valor cambiado en función de los tipos de pilas o baterías que deben ser recargadas.
Podemos cargar de 1 a 4 pilas pequeñas, medianas o grandes con este aparato, por tiempo entre 5 y 16 horas, según la recomendación del fabricante.
El lector puede utilizar su multímetro para comprobar la corriente real de carga en función de las tolerancias de los componentes y ajustar R1 para obtener la corriente que necesita para el tipo específico de pilas que usa.
La polaridad en la conexión del diodo y del soporte de pilas es fundamental para el correcto funcionamiento del aparato.
Con la conexión de dos soportes de 4 pilas en serie podemos hacer la carga de hasta 8 pilas pequeñas, medianas o grandes.
En la figura 1 tenemos el diagrama completo del cargador.

En la figura 2 tenemos la disposición real de los componentes para este montaje.
Evidentemente, los componentes no deben quedar expuestos a un toque accidental que causaría choques peligrosos, ya que tenemos la conexión directa en la red de energía.
El conjunto debe cerrarse en una caja de plástico cerrada.
Primero coloque en el soporte las pilas que desea cargar y sólo después conecte el enchufe a la red de energía.
Si la carga está conectada (pilas), la lámpara debe encenderse.
Si la lámpara no se enciende, apague la alimentación y ajuste las pilas en el soporte, ya que pueden estar mal contacto.
Nunca toque el soporte o las pilas con el aparato conectado, ya que puede tomar un fuerte choque.
El brillo de la lámpara debe ser ligeramente inferior al normal durante toda la carga.
Si alguna pila en el proceso de recarga no almacena energía es señal de que puede estar estropeada.
No la utilice más en conjunto con las que están en buen estado.
LISTA DE MATERIAL
D1 - 1N4004 o equivalente - diodo de silicio
X1 - 5 watts a 15 watts x 110 V - lámpara común
R1 - 2 k o 2,2 k ohms x 5 W - resistor de hilo
B1 - Pilas recargables - ver el texto
Varios - Soporte de pilas, puente de terminales, zócalo para la lámpara, cable de alimentación, caja para el montaje, hilos, soldadura, etc.




