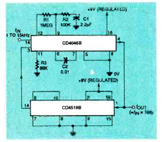
Este circuito multiplica la frecuencia de una señal por 100. El circuito fue encontrado en la edición de octubre de 1994 de la revista Electronics Now. El PLL no funciona por encima de aproximadamente una docena de megahertz.
Este circuito ultra-simple sirve para verificar el estado de altavoces, auriculares e incluso LEDs y...
Describimos el montaje de un circuito de memoria que opera según el mismo principio de las...
Presione un botón (S1) y una aguja sin conexión eléctrica alguna se mueve misteriosamente. Este montaje, basado...