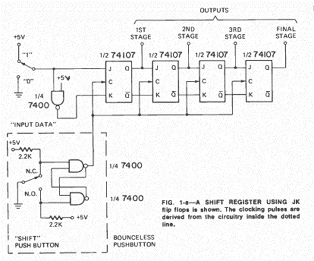
Encontrado en un artículo de la revista Radio Electronics de diciembre de 1974, este circuito tiene propósitos educativos y puede usarse para enseñar cómo funciona un registro de desplazamiento (shift register). A las salidas se pueden conectar LED.
Este circuito produce el ruido del goteo de un grifo o una gotera cuando la luz deja de incidir en el...
Este circuito aumenta la sensibilidad de un relé de 6 o 12V, permitiendo su operación directa con...
¿Qué tal montar un intercomunicador secreto para conversar con su hermano, vecino o compañero sin que...