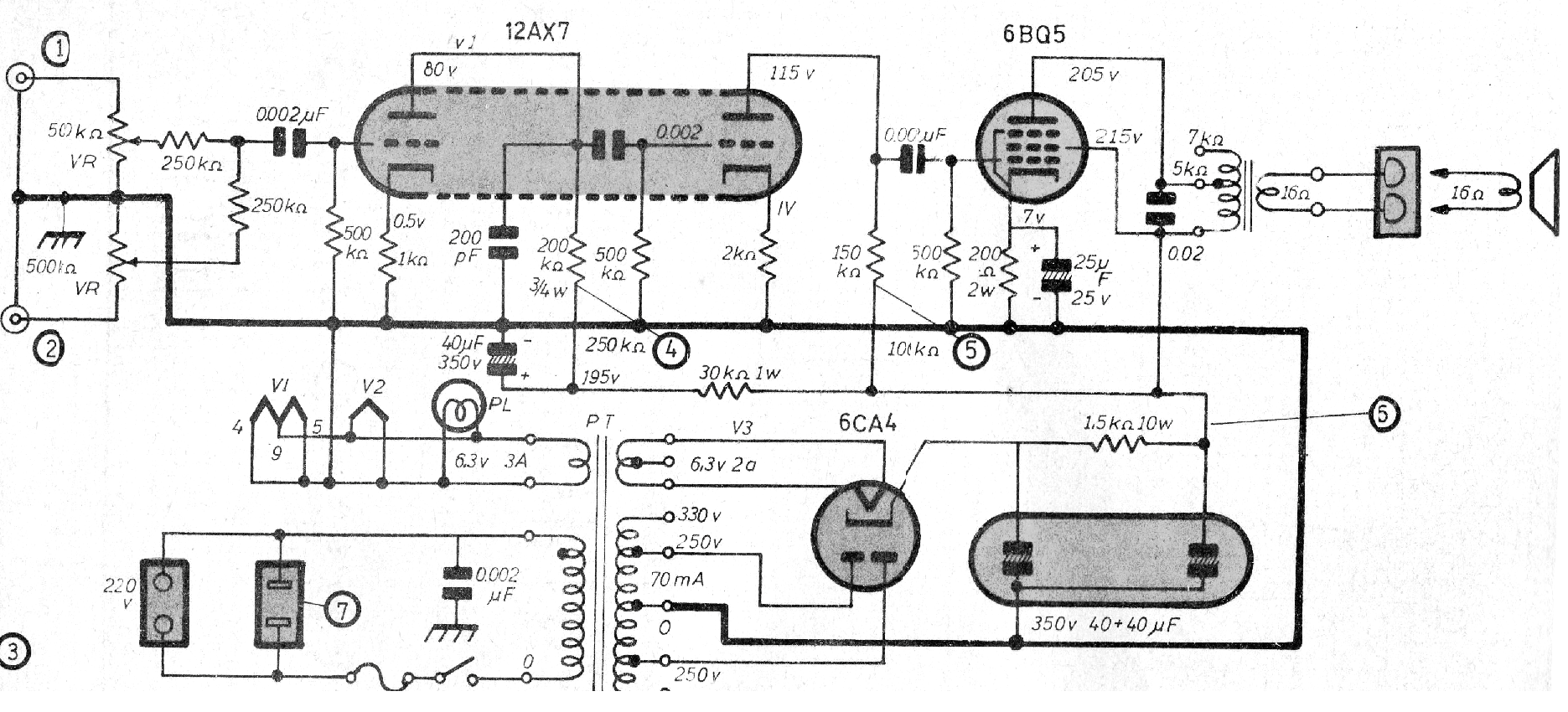
Este amplificador es de una antigua publicación de la década del 70. Evidentemente, además de las válvulas, los componentes críticos son el transformador de salida y el transformador de fuerza. Observe el filtrado con un capacitor doble y el uso del altavoz de 16 ohmios. Las tensiones en los diversos puntos del circuito se indican. Los capacitores deben ser de poliéster con tensiones de al menos 350 V y el electrolítico doble puede ser sustituido por dos discretos de valores cercanos.




