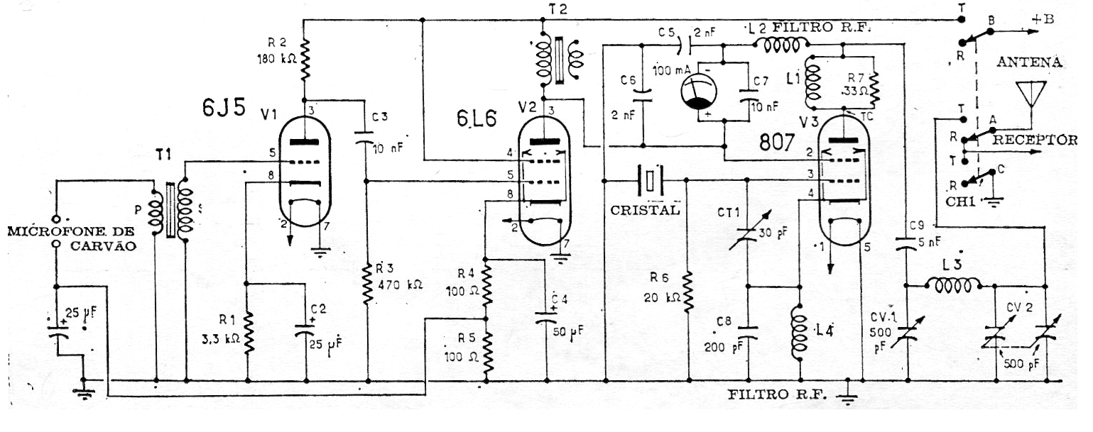
Este transmisor para el rango de 3,5 y 7 MHz requiere la licencia de radioaficionado para la operación. Se obtuvo en una publicación de 1968. Los componentes críticos son las válvulas y los transformadores, incluyendo la fuente que puede ser la del artículo V276. L3 está formado por 40 espiras de 0,2 mm en una forma de 3,7 cm. L1 está formado por 6 espiras de hilo de 0,2 mm en forma de 3 cm de diámetro y L2 y L4 son choques de 2,5 mH. CV es un condensador variable de radio valvulado. T1 y T2 son transformadores de salida de audio. En el caso de T2 sólo se utiliza el primario. Para T1 si se usa cápsula de cristal se puede modificar el circuito con un resistor de 1 M a la tierra y un capacitor 470 nF al pin5 de la 6J5.
.




