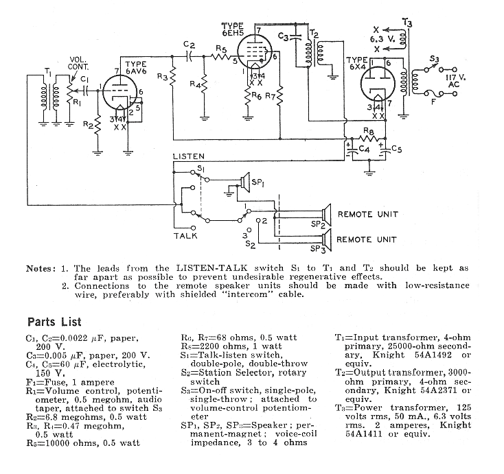
El circuito presentado fue obtenido en el Manual de Válvulas RCA edición de 1971. Se trata de un intercomunicador convencional que utiliza tres válvulas comunes, siendo dos amplificadoras y una rectificadora. Los componentes críticos son los transformadores. El transformador de fuerza debe suministrar 125 V con 50 mA y los demás son transformadores de salida y entrada con las impedancias dadas en el original en inglés en la lista de materiales. El intercomunicador tiene dos estaciones remotas que se conmutan por la clave S2. S1 es la clave hablar-oír. Los cables de conexión pueden tener algunas decenas de metros de largo y no necesitan ser blindados.




