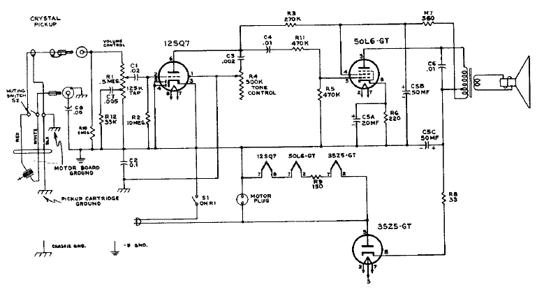
Encontrado en un manual de la época este simple amplificador, con potencia del orden de 1 W tenía los filamentos conectados en serie y entrada para fonocaptor de cristal.
Cuando aprendemos a tocar algún instrumento musical, cuando hacemos gimnasia o incluso cantamos, es...
El único material especial requerido para esta experiencia es un imán que puede ser aprovechado de viejos...
Dos transistores complementarios sustituyen a un unijuntura en este Circuito. La frecuencia está...