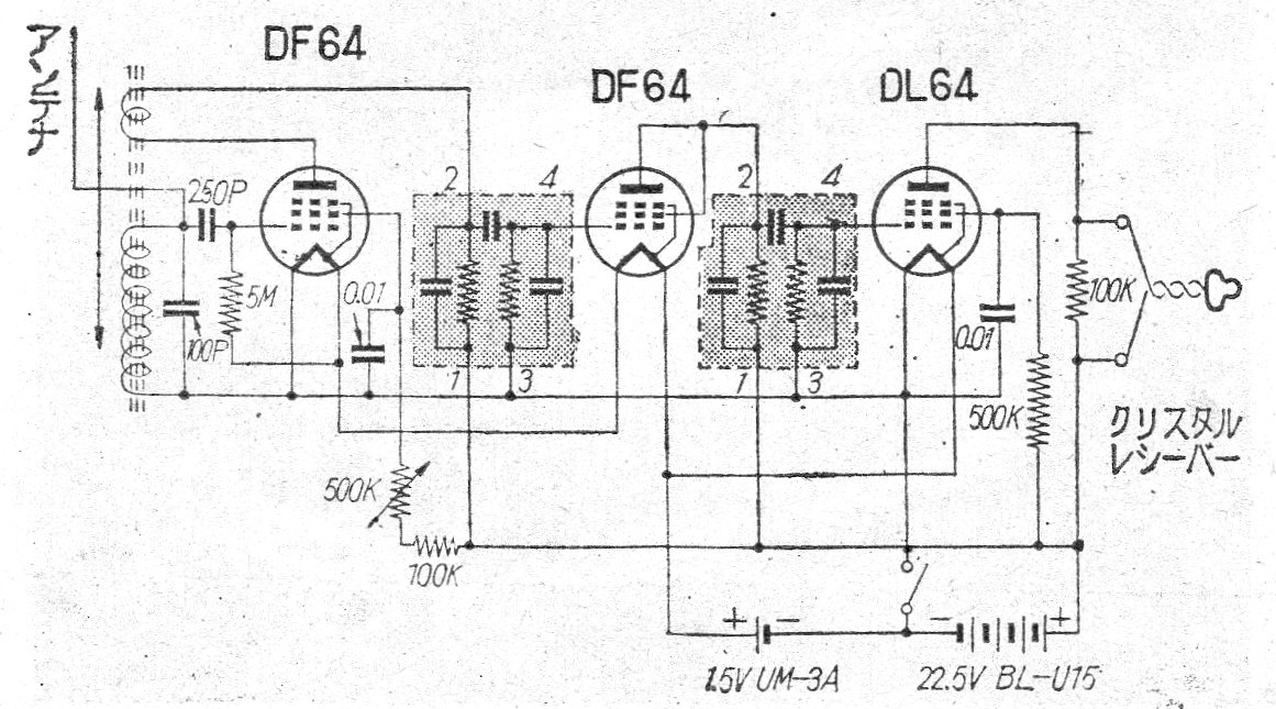
Este circuito, utilizando válvulas miniatura comunes en controles remotos de la épica, fue encontrado en una revista técnica japonesa de 1955. La escucha era sólo en auricular y el "pesado" del circuito era la necesidad de dos baterías, siendo una de 22,5 V para los ánodos de las válvulas.




