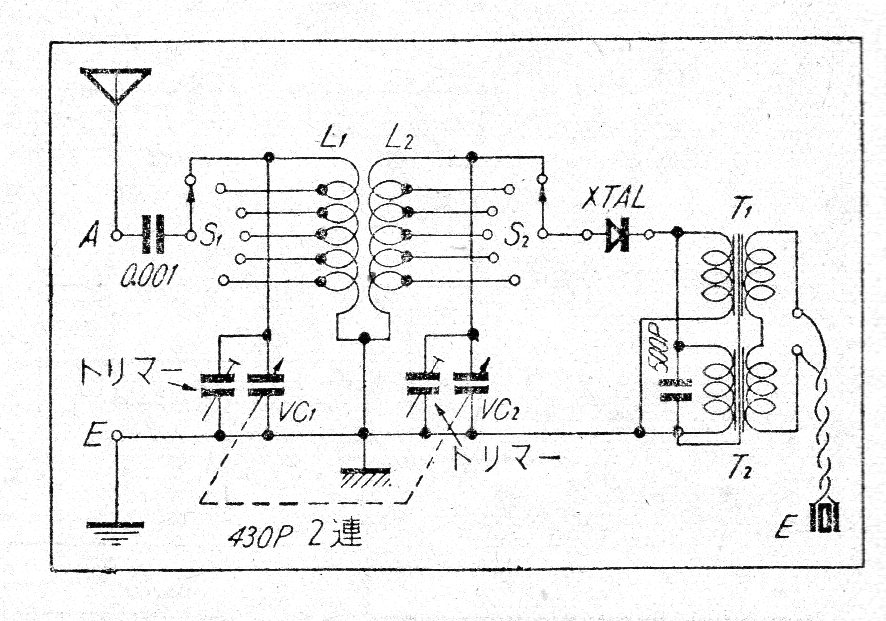
El circuito encontrado en una publicación de los años 50 ayuda a casar la impedancia de una antena con la entrada de un receptor de ondas cortas en la recepción de estaciones de determinadas frecuencias. No se dio información sobre las bobinas. El circuito es totalmente pasivo no necesitando fuente de alimentación.




