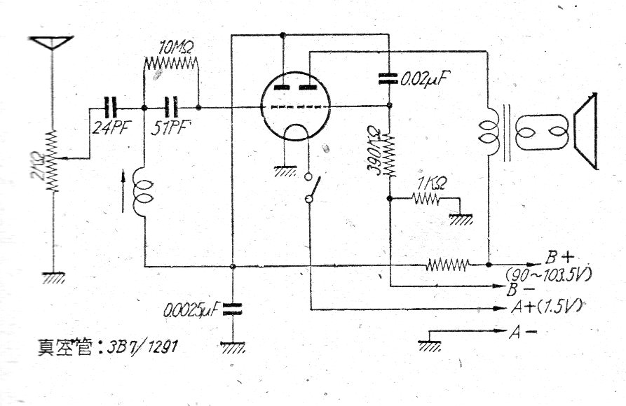
Este circuito antiguo, de la década de los 40 sintoniza la antena con un potenciómetro y las estaciones a través de un núcleo móvil de una bobina. El circuito tiene una válvula doble triodo que, en principio puede ser cualquiera, como un tipo más moderno como el 12AX7 o similar. El circuito es para el rango de AM.




