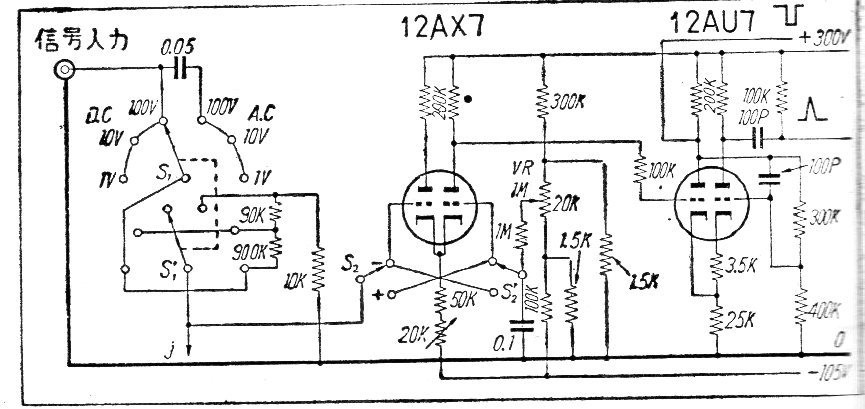
Este circuito genera pulsos de duración determinada por los componentes seleccionados. El circuito fue encontrado en una documentación japonesa de los años 60. No se incluye la fuente de alimentación.
Este pequeño transmisor de FM envía sus señales a cualquier radio, receptor o aparato de sonido con...
Describimos el montaje de un sensible galvanómetro, que puede acusar la circulación de cadenas muy...
El wattimetro o medidor de potencia eléctrica que describimos puede ser utilizado en la medida de...