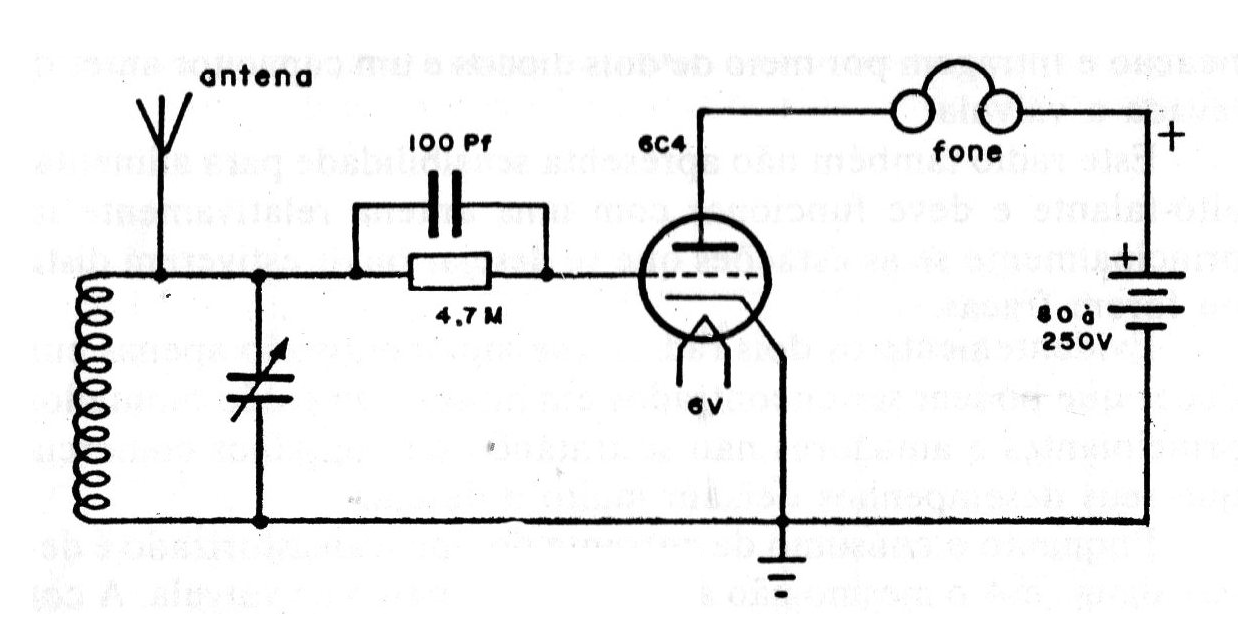
Cualquier válvula triodo como la 6C4 se puede utilizar en esta radio. La bobina tiene de 80 a 100 vueltas de cable 26 o 28 en un tubo de cartón o PVC de 2,5 cm de diámetro. El filamento de la válvula en este caso necesita 6 V. El circuito recibe las estaciones de onda medias. El auricular es magnético con al menos 500 ohms de impedancia.




