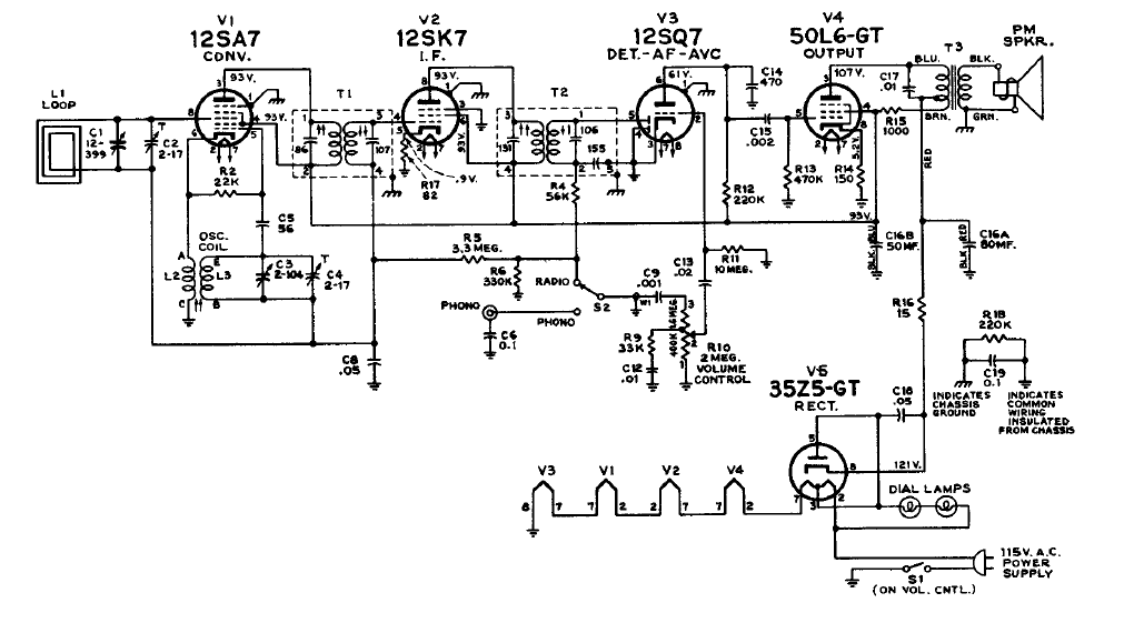
Este receptor de 5 válvulas de la década de 50 se destinaba a la recepción de las estaciones de la banda de ondas medias. La configuración era bastante simple con los filamentos de las válvulas conectadas en serie.
Este pequeño transmisor de FM envía sus señales a cualquier radio, receptor o aparato de sonido con...
Describimos el montaje de un sensible galvanómetro, que puede acusar la circulación de cadenas muy...
El wattimetro o medidor de potencia eléctrica que describimos puede ser utilizado en la medida de...