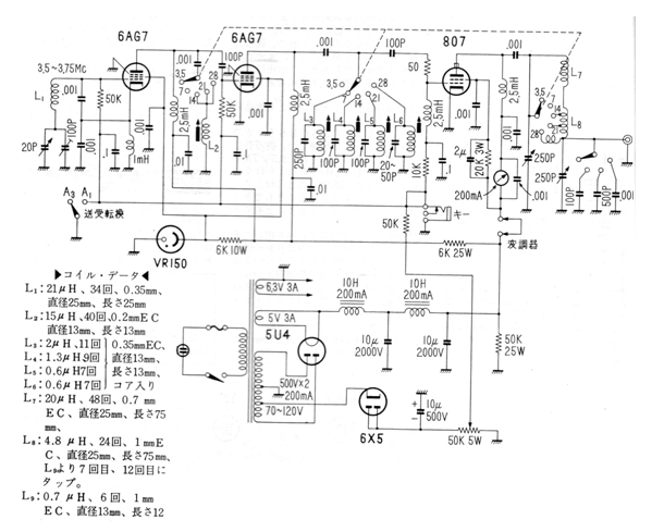
Este transmisor de los años 60 utiliza la potente válvula 807 en la salida para proporcionar una potencia de 40 W. El circuito es de una documentación japonesa. A pesar de que los datos de las bobinas están en japonés es posible percibir cuál es el número de espiras, hilo y diámetro de cada una de ellas.




