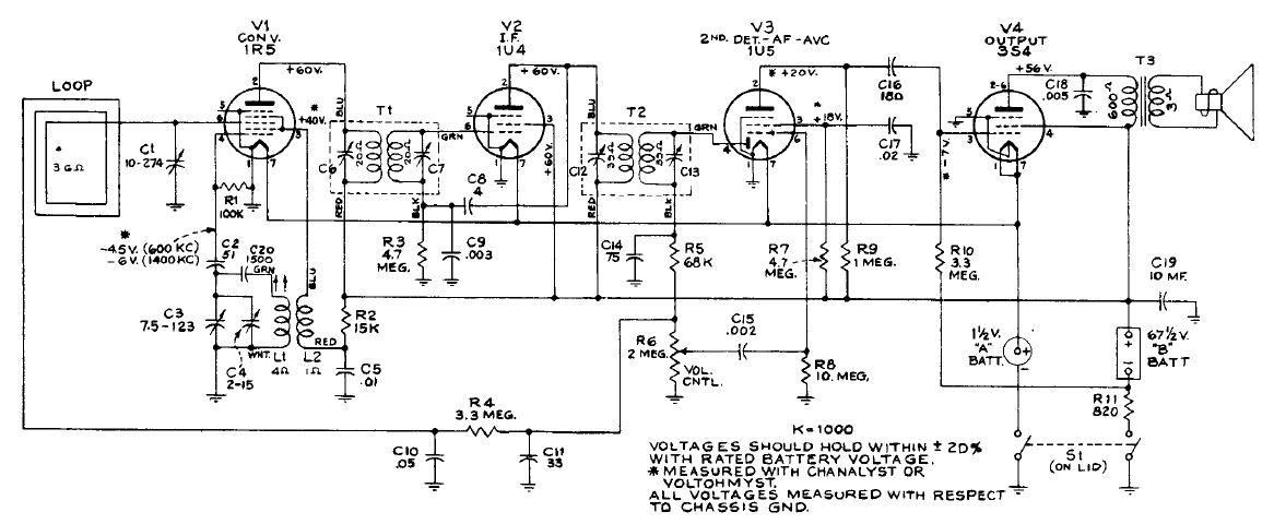
Los receptores portátiles de la época eran alimentados por dos baterías, una de baja tensión y otra de alta tensión. Es el caso de este circuito para ondas medias de la RCA.
Este circuito puede servir para el desarrollo de un enlace óptico de audio o incluso digital de muy...
Este circuito está indicado para demostraciones del principio de funcionamiento de un flip-flop R-S...
El circuito presentado en la figura 1 se dispara cuando la luz que incide sobre el LDR es cortada....