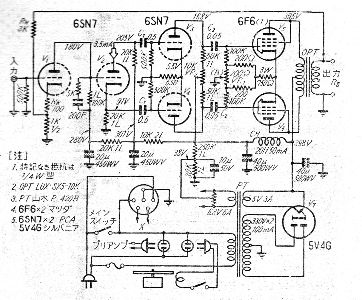
Este buen amplificador de audio fue encontrado en una publicación japonesa de 1955. El circuito tiene salida en push-pull proporcionando algunas decenas de watts. Se incluye la fuente de alimentación.
Esta radio de cristal es una versión más moderna del Radio de Galena, pues el cristal de galena...
Este es un simple montaje que puede ser utilizado en diversas aplicaciones tales como decoración,...
Este simple circuito puede medir temperaturas con cierta precisión, dependiendo sólo de cómo se...