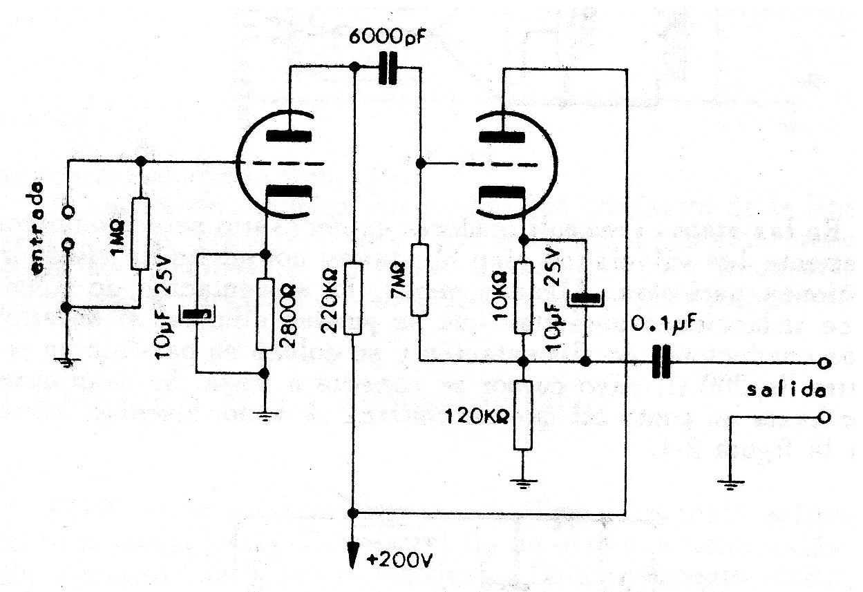
Este es un circuito típico de preamplificador de audio con un doble triodo tal como el 12AU7 o 12AX7, proporcionando una excelente ganancia para una fuente de señal de poca intensidad. La alimentación debe ser hecha con fuente de excelente filtración, normalmente la del propio amplificador con el que el circuito va a funcionar. Este circuito es de una publicación española de 1966.




