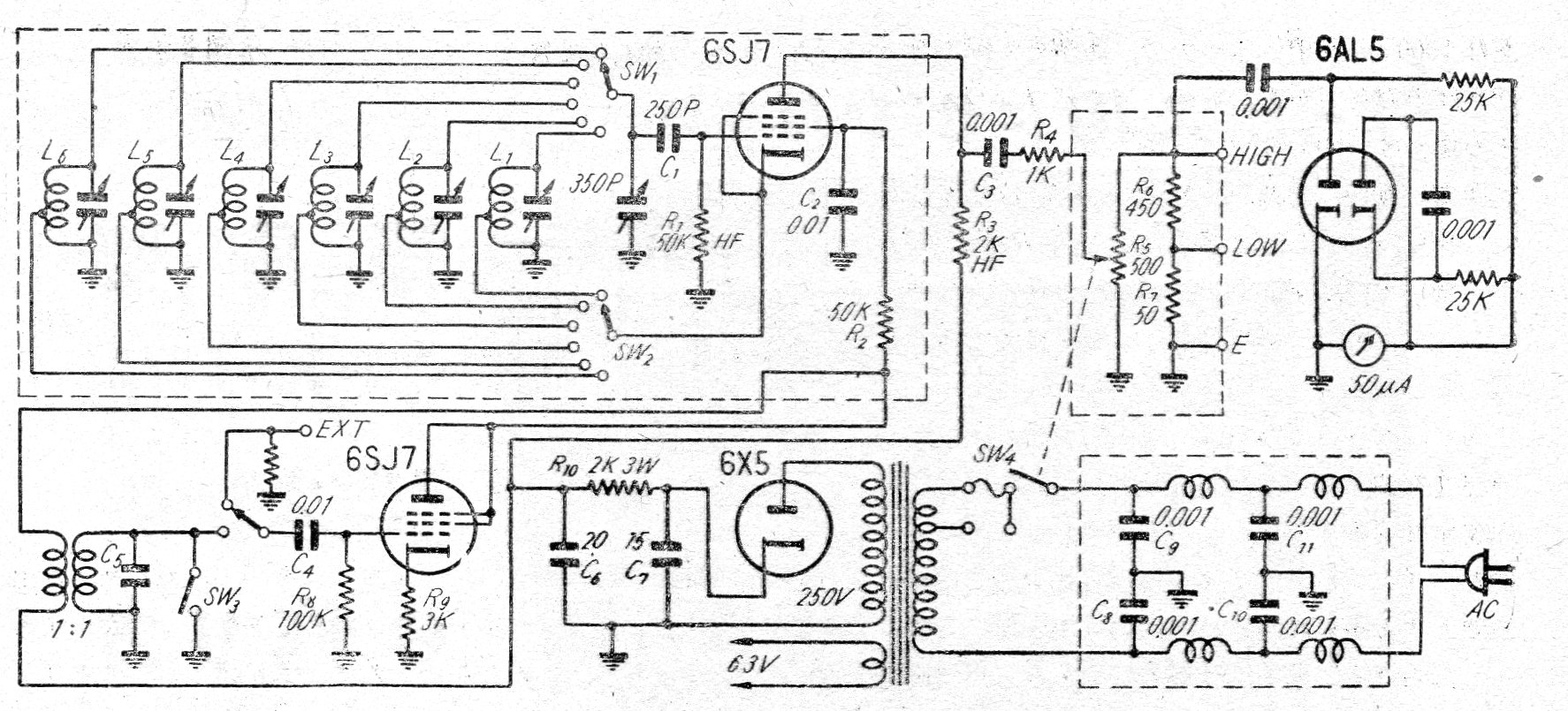
Este es el circuito típico de un generador de señales de los años 50. El circuito utiliza 4 válvulas y cada bobina está destinada a un rango de frecuencias, no siendo dadas sus características. El circuito es alimentado por la red de energía y sólo tiene un transformador, el transformador de alimentación.




