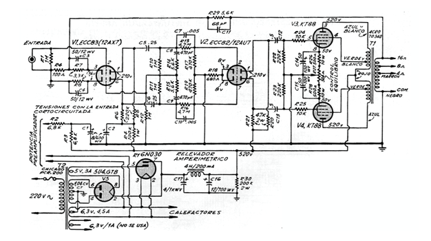
Este amplificador valvular con salida en push-pull utiliza las válvulas KT88 que pueden suministrar hasta 40 W de potencia de audio cuando se alimentan con una tensión de 520 V. El circuito se puede encontrar en muchos equipos de la década de 50 y 60 con excelente calidad de sonido, cuando empleando un transformador ultra-lineal en la salida.
Los componentes críticos de este circuito, además de las válvulas son los transformadores especiales. El transformador de salida debe ser ultra-lineal con características de acuerdo con las válvulas de salida utilizadas.
También tenemos un choque de filtro que es un componente voluminoso, no muy simple de obtener.
El circuito cuenta además con una salida para alimentar un preamplificador externo, lo que es común en este tipo de aplicación.
En la figura 1 tenemos el diagrama completo del aparato que emplea dos válvulas rectificadoras.




