Esta alarma crea una “barrera luminosa” que ai ser interrumpida provoca el disparo de una sirena, bocina u otro dispositivo que haga ruido. El principio de funcionamiento es simple: sobre un LDH incide un haz de luz que viene de una Iámpara escondida, como muestra la figura 1.

 

Figura 1
Figura 1

 

Si alguien interrumpe con su paso, aunque sea por una fracción de segundo, el haz de luz, la alarma dispara y permanece así por un tiempo que se establece con un control especial (P2).

La sensibilidad del sensor, en función de la luz ambiente, es controlada por P1.

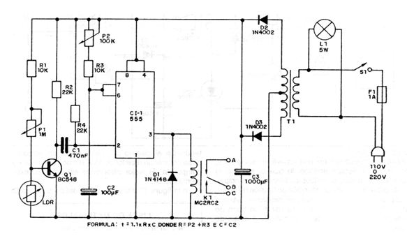
En la figura 2 tenemos el circuito completo de esta alarma.

 

Figura 2
Figura 2

 

La lámpara usada para iluminar el LDR puede ser de 5 watts, bien pequeña para que sea fácil su ocultación.

Colocada en una caja, con apenas una pequeña abertura, puede iluminar fácilmente el sensor. Para mayor sensibilidad, éste debe estar colocado en un tubo y munido de una lente.

Este sistema es alimentado por la red local, debiendo ser previsto el caso de que se produzca un corte de energía.

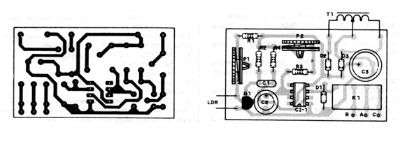
En la figura 3 damos Ia placa del circuito impreso.

 

Figura 3
Figura 3

 

 

CI-1 - 555 - circuito integrado

Q1 - BC548 o equivalente - transitor NPN

D1 - 1N4148 ó 1N914 - diodo de uso general

D2, D3 - 1N4002 o equivalente – diodos rectificadores

K1 - Relé

LDR - LDR común

T1 - transformador con primario de acuerdo con la red local y secundaria de 12 + 12V x 250 mA

P1 - 1M - trimpot o potenciômetro

P2 - 100k - trimpot o potenciômetro

F1 - fusible de 1A

L1 - lámpara de 5W para 110V o 220V de acuerdo a la red local

C1 -470nF (474) - capacitor cerâmico

C2 - 100uF - capacitor electrolitico

C3 - 1.000uF x 25V - capacitor electrolitico

R1 – 10k x 1/8W - resistor ( marrón, negro, naranja)

R2, R4 - 22k x 1/8W - resistores ( rojo, roja, naranja)

R3 - 10k x 1/8W - resistor ( marrón, negro, naranja)

S1 - Interruptor simple

Varios: placa de circuito impresa, caja para el montaje, alambres, soldadura, porta lámpara para L1, cable de alimentación, etc.