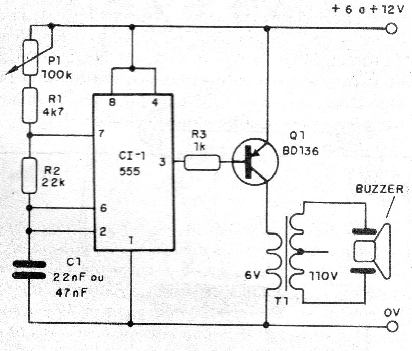
Aumente la intensidad del sonido de su bocina piezoeléctrica con el circuito que presentamos. Este oscilador de audio alimenta un transformador que eleva la tensión para el buzzer a un valor muy alto, obteniéndose así un sonido de alta potencia.
Este circuito consiste en un simple oscilador de audio ajustable con el circuito integrado 555, el cual alimenta una etapa de potencia para excitar un transductor piezoeléctrico cerámico común.
Con el uso de un pequeño transformador, la tensión aplicada al bocadillo es elevada y con ello tenemos una intensidad de sonido mucho mayor.
Sólo se debe tener cuidado en comprobar que el bocadillo utilizado puede ser usado con tensiones elevadas, aunque esto ocurra en la mayoría de los casos.
La elevación de la tensión se obtiene a través de un transformador común de secundario de 6 a 12 V y cualquier corriente entre 200 y 500 mA.
El enrollamiento primario también puede ser de 110 V o de 220 V, sin problemas.
En la figura 1 tenemos entonces el diagrama completo del buzzer potente.
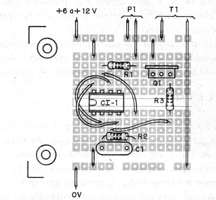
Como este proyecto puede ser realizado con fines didácticos o experimentales, mostramos su montaje con base en una matriz de contacto, como muestra la figura 2.
En el montaje, observe la posición del circuito integrado y la polaridad de la alimentación.
La posición del transistor debe también ser observada y en este montaje no será necesario utilizar disipador de calor.
Lista de material
CI-1 - 555 - circuito integrado
Q1 - BD136 o TIP32 - transistores de potencia PNP
P1 - 100k ohms - potenciómetro
R1 - 4k7 x 1/8 W - resistor - amarillo, violeta, rojo
R2 22k ohms x 1/8 W - resistor - rojo, rojo, naranja
R3 - 1 k ohms x 1/8 W - resistor - marrón, negro, rojo
T1 - transformador - ver texto
C1 - 22 nF a 47 nF - capacitor de cerámica o poliéster
BZ - Buzzer piezoeléctrico
Varios:
Matriz de contactos, hilos, fuente o pilas de 6 a 12 V, etc.





