Este proyecto va a merecer ciertamente la atención de los lectores que buscan un circuito temporizador que reúna un costo bajo y un desempeño satisfactorio. E! que proponemos en este artículo es un timer chico para intervalos de hasta unos minutos y que sirve para conectar desconectar aparatos, motores, lámparas, etc.
Analizando las características del circuito podremos evaluar bien sus posibilidades.
Características
Alimentación: 12 V
Consumo de corriente: inferior a 50 mA
Intervalo máximo de tiempo: 12 minutos 30 segundos
Control de carga: mediante relé.
El Circuito
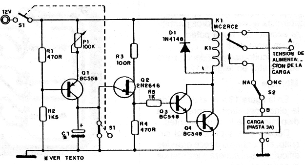
EI circuito es simple, formado por dos etapas que ejercen funciones distintas: oscilador y disparador.
La primera etapa tiene por base un oscilador unilateral y representa el circuito del tiempo anterior, el período del oscilador de relajación y está dado por la relación T = R x C.
De esa manera, si elegimos valores convenientemente grandes para el resistor R y el capacitor C, tendremos un periodo largo, suficiente para generar pulsos con intervalos de hasta algunos minutos.
¿Y por qué no utilizar esos pulsos para hacer de un oscilador simple un timer para intervalos cortos?
Como el transistor unijuntura no tiene potencia suficiente para accionar un motor o una lámpara, se precisa una etapa adicional para amplificar los pulsos generados y los aplicará a un relé o SCR.
Una ventaja que ofrece el relé es que con él podremos conectar o desconectar la carga, bastando para ello que utilicemos los contactos NA o NF.
Esta etapa adicional consiste en un acoplamiento Darlington con dos transistores BC548 p equivalentes.
En cuanto al tiempo de operación, dependerá exclusivamente del potenciômetro P1 y del capacitor C1 que podrá tener los valores siguientes:
470 µF para 5 min 30 seg.
1.000 µF para 12 min 30 seg.
El circuito completo del aparato se ve en la figura 1.

Montaje
En la figura 2 se muestra el diseño de la placa del circuito impreso y la disposición de los componentes.

La única observación que debe hacerse sobre el montaje se refiere a la llave S1, H de 2 polos y 2 posiciones, que al instalarse no debe tener los polos invertidos ni en cortocircuito.
Prueba y Uso
Terminado el montaje, para probar su timer precisará una lámpara de 1,5; 3 ô 12V y su respectiva fuente de alimentación.
Haga las conexiones conectando la lámpara entre los puntos B y C y la alimentación entre los puntos A y C del circuito.
Accionando S1, la lámpara deberá encenderse después de un cierto tiempo ajustado en P1 y permanecerá así. En el caso de que utilicemos los contactos NF del relé, la lámpara estará encendida inicialmente y luego se apagará. La llave S2 seleccionará cuál de los contactos se utilizará.
Después de haber sido encendida, para “rearmar” el timer y ponerlo nuevamente en condiciones de funcionar, se desconecta momentáneamente Ia llave S1.
Verificando el funcionamiento, haga la instalación definitiva en una caja y compare los tiempos con un cronómetro, haciendo la escala para el potenciômetro de su timer.
Q1 - BC558 o equivalente - transistor
Q2 - 2N2646 - transistor unijuntura
Q3, Q4 - BC548 o equivalente - transistores
D1 - 1N4148 - diodo de silicio
C1 - capacitor electrolítico de 16 V (ver texto)
K1 – MC2RC2 - relé Metaltex de 12 V
R1, R4 - resistores de 470 Ω 1/8 W ( amarillo, violeta, marrón)
R2 - resistor de 1k5 X 1/8 W (marrón, verde, rojo)
R3 - resistor de 100 Ω x 1/8 W (marron, negro, marrón)
R5 - resistor de 1 k X 1/8 W (marrón, negro, rojo)
P1 - potenciômetro de 100 k
S1 - llave H - 2 polos X 2 posiciones
S2 - llave H - 1 polo x 2 posiciones
Varios: placa de circuito impreso, alambres, caja para montaje, soldadura, etc.



