Este es un excelente circuito reforzador de sonido para walkmans, pequeños grabadores, reproductores de CD y radios que sólo tienen salida para auriculares. Podemos utilizar la salida de los auriculares para obtener la reproducción en un altavoz de al menos 15 cm. Instalado en un pequeño altavoz, el altavoz con el booster y eventualmente su fuente de alimentación proporcionarán un sonido mucho mejor para su equipo portátil que tenga alimentación de 2 o 4 pilas comunes o sólo salida de audífonos.
La fuente de alimentación debe proporcionar una tensión de 6 a 9 V con al menos 500 mA. El circuito tiene sólo un transistor como base y un único ajuste para obtener un mejor sonido sin distorsión. En la figura 1 tenemos el diagrama completo del booster (reforzador).

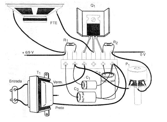
Si su equipo es estéreo y desea reforzar los dos canales debe montar dos unidades igual que las que se alimentan con una fuente de alimentación única. En la figura 2 tenemos la disposición de los componentes en un pequeño puente de terminales aislados, ya que se trata de circuito poco crítico.

El transistor Q2 es un Darlington de potencia que admite equivalentes. En realidad cualquier Darlington NPN con al menos 4 ampères de corriente de colector se puede utilizar. Este transistor debe estar dotado de un radiador de calor. Los resistores son todos de 1 / 8W o mayores y los capacitores electrolíticos deben tener una tensión de trabajo de al menos 12 V.
El transformador puede ser del tipo utilizado como salida de radios transistorizados fuera de uso (el devanado que va al altavoz pasa a ser el devanado de entrada) como también se puede utilizar un pequeño transformador de fuente de alimentación con primario de 110/220 V y secundario de 5 a 12 voltios con corriente entre 50 y 250 mA. La bobina de baja tensión se utiliza en la entrada de las señales.
Para una mejor calidad de sonido, el altavoz debe ser pesado con al menos 15 cm de diámetro, instalado en una pequeña caja acústica de acuerdo con sus dimensiones. Hecho el montaje, conecte la unidad a la fuente de alimentación y coloque P1 en la posición media. Conecte a la entrada la fuente de señal que puede ser un radito o un walkman.
La señal se extrae de la salida de auricular (mono o estéreo) con un enchufe apropiado. Ajuste el volumen hasta obtener el máximo de señal en el altavoz y al mismo tiempo sobre P1 para que el sonido salga puro, sin distorsiones.
Una vez hecho el ajuste de P1 para la mejor reproducción, ya no tendrá que tocar este componente. Para ajustar la intensidad del sonido, actúe sobre el control de volumen del aparato que sirve de fuente de señal.
LISTA DE MATERIAL
Semiconductores:
Q1 - TIP120 - transistores NPN Darlington de potencia
Resistores: (1/8 W, 5%)
R1 - 47 k ohms - amarillo, violeta, naranja
R2 - 22 ohms - rojo, rojo, negro
P1 - 10 k ohms - trimpot o pote
Capacitores:
C1 - 10 uF / 12 V - electrolítico
C2 - 100 uF / 12 V - electrolítico
C3 - 1000 uF / 12 V - electrolítico
Varios:
T1 - transformador - ver texto
FTE - 4 ó 8 ohms x 15 cm o mayor - altavoz
Puente de terminales, altavoz, radiador de calor para el transistor, fuente de alimentación, cables, soldadura, cable con enchufe para entrada de señal.



