Si usted tiene una fuente de alimentación no regulada y desea regulación para corrientes hasta 1 A de forma económica, este circuito puede ser utilizado.

   Describimos el montaje de un simple regulador de tensión para corrientes hasta 1 A, utilizando un transistor y un diodo zener como componentes principales.

   La tensión de salida depende del zener, que puede ser de 6V6 a 12 V para tensiones de 6 a 12 V.

   La tensión de entrada debe ser de al menos 2 V más que la tensión de salida, pero menor de 20 V en todos los casos.

   El transistor de potencia debe montarse en un radiador de calor.

   Los electrolíticos son para 12 V o más y R1 depende de la tensión de la diferencia de tensión entre entrada y salida, conforme a la siguiente tabla:

2 a 6 V - 330 ohms

6 a 9 V - 470 ohms

9 a 12 V - 680 ohms

  En la figura 1 tenemos el diagrama del regulador.

 

 

   Figura 1 - Diagrama del regulador
   Figura 1 - Diagrama del regulador | Clique na imagem para ampliar |

 

  

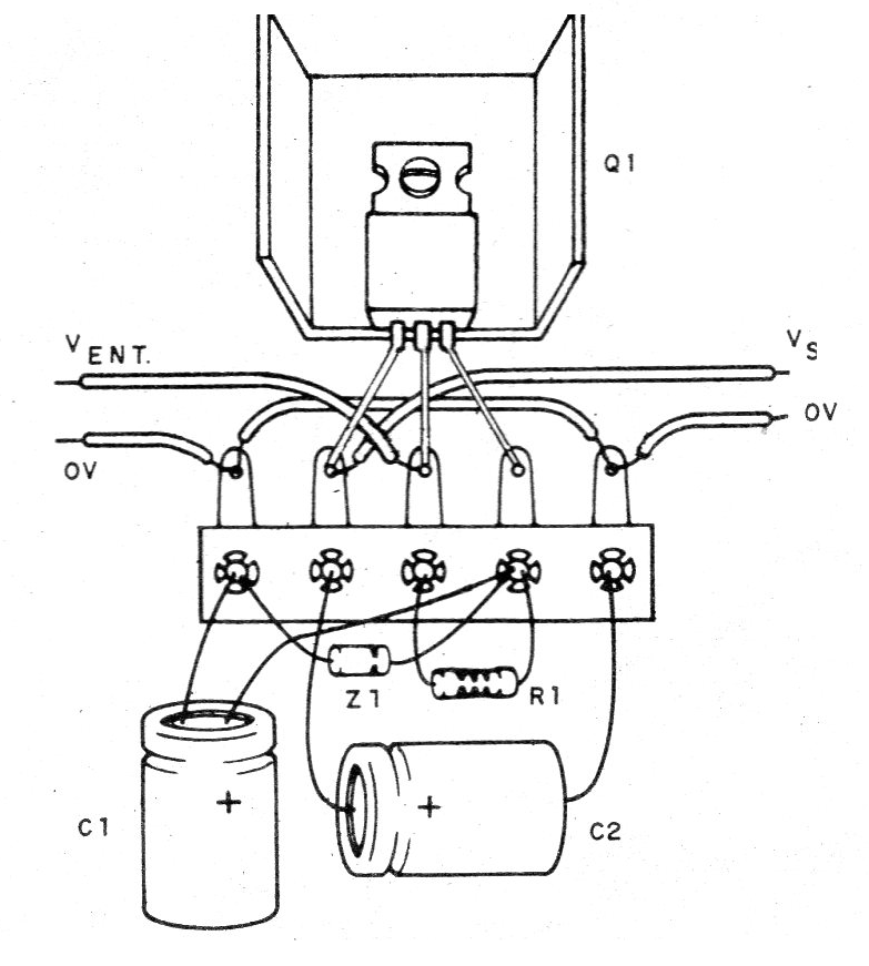
En la figura 2 tenemos su montaje en un puente de terminales.

 

 

   Figura 2 - Montaje en puente de terminales
   Figura 2 - Montaje en puente de terminales | Clique na imagem para ampliar |

 

   

En el montaje, observe la posición del circuito integrado y la polaridad del diodo zener y los capacitores electrolíticos.

 

 

   Lista de material

 

CI-1 - 7806 - circuito integrado

Z1 - Zener según la tensión de salida - ver texto

R1 - ver texto

C1 - 10 uF - capacitor electrolítico

C2 - 100 uF - capacitor electrolítico

Varios:

Puente de terminales, caja para montaje, disipador de calor, hilos, soldadura.