Los amplificadores operativos necesitan fuentes simétricas típicamente entre 6 y 15 V. En este simple proyecto, mostramos cómo mostrar una cuya tensión depende sólo del transformador utilizado.
Esta fuente simétrica no regulada es ideal para la alimentación de proyectos que utilizan amplificadores operativos.
En especial recomendamos para proyectos didácticos en matrices de contactos por su simplicidad.
Sólo debemos tener cuidado con su uso, eventualmente añadiendo un fusible de 500 mA en la entrada, ya que no está regulado ni protegido.
La fuente utiliza rectificación de onda completa y tiene un LED para controlar la tensión de salida.
En la figura 1 tenemos el diagrama completo de la fuente.
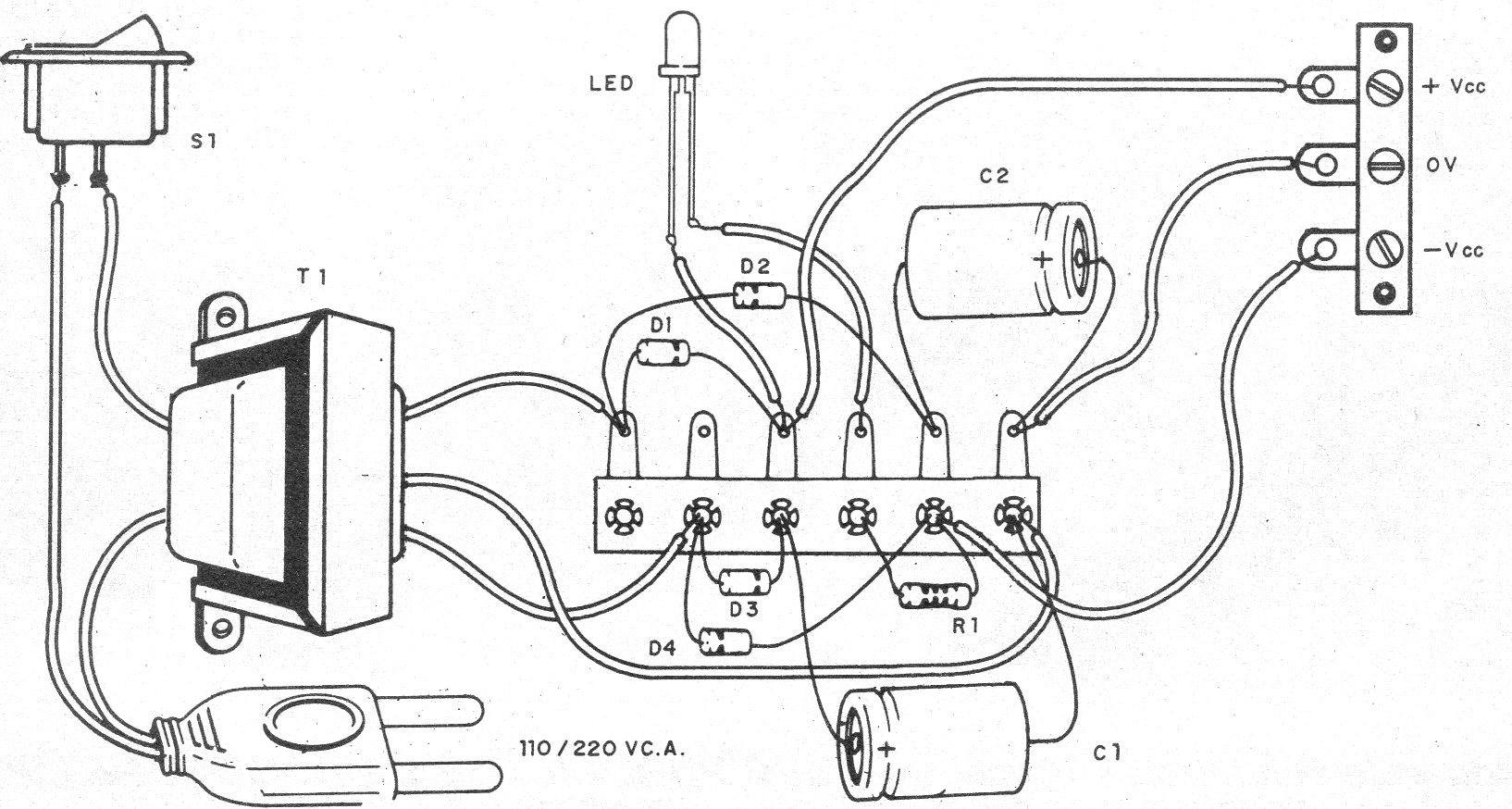
La figura 2 muestra su montaje utilizando un puente de terminales como base.
El transformador puede tener de 6 a 12 V de tensión de secundario con corrientes de 200 a 500 mA.
Los electrolíticos son para 16 V y los diodos 1N4002 o incluso 1N4004.
El LED puede ser de cualquier tipo.
Lista de material
D1 a D4 - 1N4002 o 1N4004 - diodos
LED - LED común de cualquier color
T1 - Transformador - ver texto
S1 - Interruptor simple
C1, C2 - 1 000 uF - electrolíticos
R1 - 3k3 ohms x 1/8 W - resistor - naranja, naranja, rojo
Varios:
Cable de fuerza, cables, caja para montaje, soldadura, etc.





