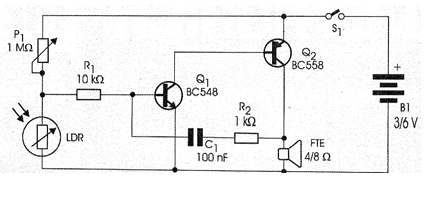
Cuando la luz deja de incidir en el LDR del circuito de la figura 1, el oscilador entra en acción produciendo un sonido agudo que depende básicamente del valor de C1. Los valores más altos producen sonidos más graves.

La sensibilidad se ajusta en el trimpot o el potenciómetro de 1 M ohms y el circuito se puede alimentar con dos o cuatro pilas pequeñas.
El altavoz puede ser de cualquier tipo con 5 a 10 cm de diámetro e impedancia de 4 ó 8 ohms.
En la figura 2 tenemos el montaje de la alarma en un puente de terminales.

Los lectores con más características pueden realizar el montaje en una placa de circuito impreso como en una matriz de contactos.
Lista de material
Q1 - BC548 o equivalente - transistores NPN de uso general
Q2 - BC558 o equivalente - transistores PNP de uso general
LDR - LDR redondo común
P1 - 1 M ohms - trimpot o pote
R1 - 10 k ohms x 1/8 W - resistor - marrón, negro, naranja
R2 - 1 k ohms x 1/8 W - resistor - marrón, negro, rojo
C1 - 100 nF - capacitor de cerámica o poliéster
FTE - 4 ó 8 ohms - Altavoz común de 5 a 10 cm
S1 - Interruptor simple
B1 - 3 o 6 V - dos o cuatro pilas pequeñas
Varios:
Puente de terminales, soporte de pilas, caja para montaje, hilos, soldadura, etc.



