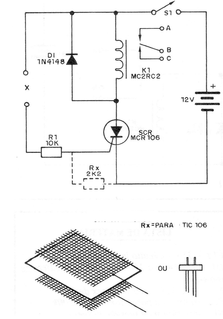
Con este circuito tenemos la activación de un sistema de aviso cuando un sensor es mojado o incluso humedecido.
Para disparar con lluvia o fugas el sensor consiste en dos pantallas de metal separadas por un pedazo de tejido o papel poroso con un poco de sal. Después de la activación de la alarma por humedad o agua, el sensor debe ser cambiado por un seco, antes del rearme.
Para el disparo por nivel de líquido el sensor consiste en dos pedazos de hilo con las puntas descascadas y separadas por una distancia de algunos centímetros.
Este circuito se debe apagar y volver a conectar para rearme y se muestra en la figura 1.
La placa de circuito impreso se muestra en la figura 2.
LISTA DE MATERIAL
SCR - MCR106, TIC106 o C106 - SCR común
K1 - relé de 12 V
DI - 1N4148 o 1N914 - diodo de uso general
X - sensor - ver texto
S1 - interruptor simple
R1 - 10 k X 1 / 8W - resistor (marrón, negro, naranja)
B1 - 12 Voy 8 pilas medias
Varios: placa de circuito impreso, hilos, material para el sensor, soporte para pilas (2 de 4 pilas), etc.





