La producción de señales de radio o ondas electromagnéticas, que pueden propagarse por el espacio y llevar informaciones, es tan simple que pocos saben que puede lograrse con sólo tres componentes improvisados. Esta posibilidad puede ser explorada en demostraciones, como trabajo escolar, clases de ciencias y en ferias de ciencias.
Las señales, que pueden atravesar obstáculos como tablas, divisorias de madera y paredes, pueden ser captadas en una radio portátil común transistorizada.
Experimentalmente el montador puede demostrar los efectos citados, pero como montaje de uso práctico ella sirve para transmitir señales en código a un amigo que está en un apartamento o sala adyacente, a través de la pared.
El transmisor es extremadamente simple, como hemos dicho, y como receptor se puede utilizar cualquier radio portátil.
Funcionamiento
Las interrupciones de corriente muy rápidas pueden generar oscilaciones de cargas eléctricas que producen ondas de radio, o sea, ondas electromagnéticas de altas frecuencias, que se propagan por el espacio con la velocidad de la luz.
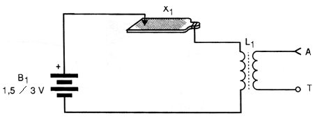
Podemos producir tales "vibraciones" de una manera muy simple frotando un hilo conectado a una pila, en un archivo común. Como "carga" inductiva para reforzar las oscilaciones, es decir, producir las señales deseadas tenemos una bobina enrollada en un bastón de ferrita.
En realidad, este circuito no genera una señal de frecuencia fija. Sus señales se extienden en una amplia gama de frecuencias, produciendo así un "ruido radioeléctrico" o EMI (Electromagnetic Interference - Interferencia electromagnética).
Su funcionamiento como transmisor realmente para largo alcance está prohibido, ya que interfiere en muchos tipos de aparatos de comunicación.
Sin embargo, fueron iguales a este los primeros aparatos usados por Marconi, Landel de Moura y otros investigadores que acabaron por inventar la radio.
En nuestro sistema, usaremos como antena un simple pedazo de hilo de unos 50 cm de largo, y para demostraciones con alcances pequeños, ni siquiera eso será necesario, pues las señales no van más allá de algunos metros. Con este procedimiento evitamos que se produzcan interferencias en radios y televisores conectados cerca.
Se trata, evidentemente, de un aparato indicado sólo para demostraciones y experiencias a corta distancia. En la figura 1 tenemos el diagrama completo de nuestro transmisor elemental.

En la figura 2 tenemos el aspecto general del montaje.

La bobina se enrolla en un bastón de ferrita (que puede ser aprovechado de cualquier radio transistorizada vieja fuera de uso) y tanto puede ser cilíndrica como aburrida. Esta bobina tiene un enrollamiento formado por aproximadamente 40 vueltas de alambre común o esmaltado de cualquier espesor y otro devanado con 5 vueltas del mismo hilo.
Los hilos de conexión a la pila son soldados en sus terminales. Si se utilizan hilos esmaltados, se deben raspar en el punto de soldadura.
Para operar el transmisor es simple:
Conecte en las cercanías (1 a 2 metros) una radio AM fuera de estación sintonizada en cualquier punto de la escala. Rasca el hilo en el archivo. Se debe transmitir un ruido a la radio.
El lector verá que estas señales pueden atravesar obstáculos, pues si la radio está del otro lado de una pared ellos todavía serán captados.
La codificación de las señales, para que los mensajes puedan ser transmitidos, puede ser hecha en Morse. En esta condición una "raspada" de corta duración significa un punto y una raspada más larga un trazo. Los puntos y los trazos se combinan para formar letras, números y señales gráficas.
Para una operación con un alcance un poco mayor, la antena es un pedazo de hilo común de aproximadamente 50 cm a 1 metro. La conexión a tierra se puede hacer en cualquier objeto de metal más grande.
Como se explica, este transmisor no emite señales de frecuencia fija, sino un ruido. De esta forma, no lo conecte a las antenas externas o largas. Las señales también se pueden sintonizar en la banda de onda corta de 3 MHz a 10 MHz, si el lector tiene un receptor que tiene esas pistas.
No deje el hilo apoyado en el archivo, pues además de no haber emisión, la pila se gasta rápidamente por el exceso de corriente.
LISTA DE MATERIAL
B1 - 1 pila grande
X1 - 1 archivo
L1 - Bobina - ver el texto
Varios:
Terminal antena / tierra, cable esmaltado, hilos, soldadura, etc.



