Esta es la versión más simple que se puede construir de una luz rítmica con lámpara de neón. La lámpara parpadeará al mismo ritmo de la música que toque su aparato de sonido, grabadora o incluso radio portátil.
El circuito es ultra-simple, pues todo lo que necesitamos es de la lámpara neón, de un resistor y de un transformador. Este transformador es de alimentación con primario de 110/220 V y secundario de cualquier tensión entre 5 y 12 V con corriente de 150 a 300 mA.
El transformador en este circuito eleva la tensión de la señal para poder excitar la lámpara de neón. La absorción de potencia es muy pequeña, de modo que el circuito no influye en el nivel del sonido del sistema.
Montaje
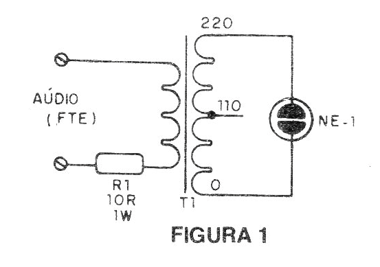
En la figura 1 tenemos el diagrama completo del aparato.

El resistor R1 debe ser de 10 ohmios para potencias del aparato entre 1 y 10 W. Para entradas mayores, aumente el valor de esta resistencia. Para potencias menores como, por ejemplo, radios y grabadores, el resistor puede ser eliminado.
En la figura 2 tenemos el montaje del aparato teniendo como base un puente de terminales.
En esta misma figura tenemos el modo de hacer la conexión del aparato a su sonido. En el caso de radios portátiles y grabadoras, la conexión se puede realizar en el altavoz o en el jack de auricular.
Para un sistema de sonido estereofónico, monte una unidad para cada canal.
Lista de materiales
NE-1 - Lámpara de neón común
T1 - Transformador - ver texto
R1 - resistencia de 10 ohms x 1 W - ver texto
Varios:
Hilos, soldadura, etc.




