Gran parte de los proyectos que encontramos en este sitio y en publicaciones técnicas requieren alimentación de 6 V y corrientes normalmente inferiores a 1 A. Utilizar pilas para hacer experimentos no es un buen negocio, dado su agotamiento rápido y costo, dependiendo del consumo del aparato.

 

Con la fuente que describimos, alimentar aparatos con 6 V bien regulados y filtrados es más fácil y ayuda a ahorrar pilas. No necesitamos preocuparnos por la caída de la tensión al final de la vida de las pilas, que causa fallas de funcionamiento en los aparatos alimentados.

 

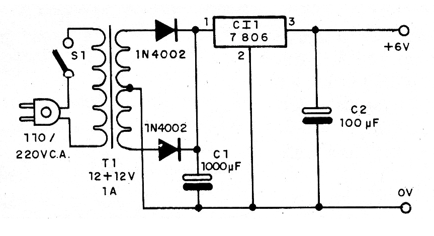
En la figura 1 tenemos el diagrama completo de nuestra fuente que utiliza un circuito integrado regulador de tensión.

 

Figura 1
Figura 1 | Clique na imagem para ampliar |

 

 

En la figura 2 tenemos la disposición de los componentes en un puente de terminales.

 

 

Figura 2
Figura 2 | Clique na imagem para ampliar |

 

 

El circuito integrado debe estar dotado de un pequeño radiador de calor, El transformador tiene devanado primario de acuerdo con la red local y secundario de 9 +9 V o 12 + 12 V con corriente hasta 1 A.

 

Una opción consiste en añadir un LED con una resistencia de 1k en serie para monitorear la tensión de salida. Para comprobar el funcionamiento utilice un multímetro o conecte una carga de 6 V (lámpara, por ejemplo) en la salida.

 

 

 

Lista de materiales:

 

CI-1 - 7806 - circuito integrado

D1, D2- 1N4002 - diodos de silicio

T1- Transformador de 9 + 9 V o 12 + 12 V x 1 A

S1- Interruptor simple

C1- 1 000 uF x 16 V- capacitor electrolítico

C2- 100 uF x 12 V- capacitor electrolítico

Varios:

Puente de terminales, caja para montaje, cable de fuerza, radiador para el circuito integrado, bornes o garras para salida, etc.