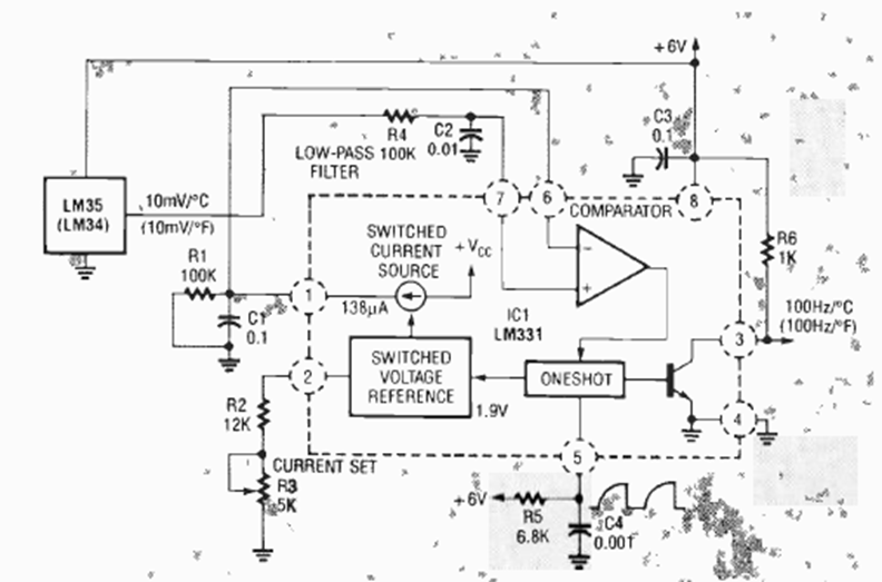
Encontramos este circuito en la edición de marzo de 1992 de la revista Radio Electronics. El circuito proporciona 100 Hz por cada grado Celsius o Fahrenheit.
Este circuito aparece con variaciones en otros puntos de esta sección. Esta versión es de una...
Este relé de luz o sobre, según las posiciones del LDR y de P1 es extremadamente sensible, pues utiliza...
En el circuito de la figura tenemos una aplicación de un transistor como oscilador. Para ello,...