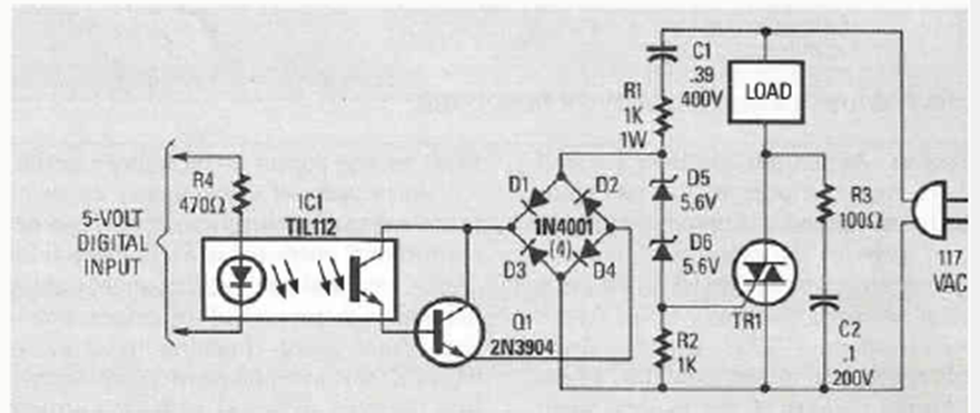
Este escudo de disparo de onda completa se encontró en la revista Radio Electronics Experimenter de 1989. El Triac debe adaptarse a la carga que se va a controlar.
Esta es una broma inofensiva para quien le gusta dar golpes en los demás. Un capacitor cargado,...
Es un montaje ultra simple que usted puede hacer con componentes de chatarra. Se trata de un...
Presione un botón (S1) y una aguja sin conexión eléctrica alguna se mueve misteriosamente. Este montaje, basado...