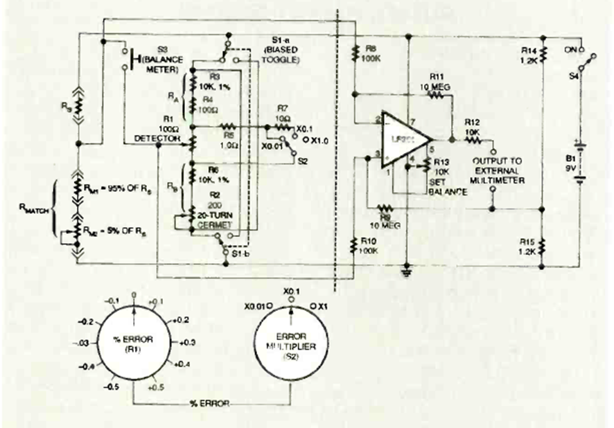
Encontramos este circuito en la revista Electronics Now de noviembre de 1995. El circuito es más preciso que el anterior utilizando un multímetro externo como indicador.
Este circuito se utiliza para conectar un capacitor adicional a un circuito sintonizado de un VFO....
Sugerido por una documentación de General Electric en 1965, este circuito está destinado a la red...
Este circuito es de uma Popular Electronics de 1992. El circuito emplea un transistor equivalente y un...