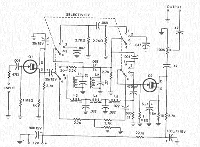
Este sofisticado filtro para señales de audio fue encontrado en la revista Radio Electronics. Las frecuencias están determinadas por circuitos LC. El circuito tiene selectividad seleccionada mediante un interruptor.
Este circuito produce el ruido del goteo de un grifo o una gotera cuando la luz deja de incidir en el...
Este circuito aumenta la sensibilidad de un relé de 6 o 12V, permitiendo su operación directa con...
¿Qué tal montar un intercomunicador secreto para conversar con su hermano, vecino o compañero sin que...