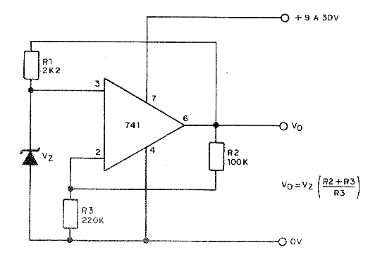
Un amplificador operacional se puede utilizar para aumentar la capacidad de disipación de un diodo zener. En el caso, con un zener pequeño, podemos obtener corrientes hasta 16 mA en la salida del operacional, eso para zeners de 6 V hasta poco menos que la tensión usada en la alimentación del circuito. La fórmula al lado del circuito permite calcular los valores de los componentes del circuito para la tensión de salida deseada en función de la tensión del diodo zener. Vea que no podemos obtener tensiones de salida mayores que la tensión del diodo zener. Otros amplificadores operativos se pueden utilizar en la misma configuración.




